EasyManua.ls Logo

Electrolux ERG23610 - Environmental Concerns

Electrolux ERG23610
12 pages
Print Icon
To Next Page IconTo Next Page
To Next Page IconTo Next Page
To Previous Page IconTo Previous Page
To Previous Page IconTo Previous Page
Loading...
the letter “E“ or by the earth symbol
or coloured green and yellow.
2. Connect the wire coloured blue to the
terminal either marked with the letter
“N“ or coloured black.
3. Connect the wire coloured brown to the
terminal either marked with the “L“ or col-
oured red.
4. Check that no cut, or stray strands of
wire is present and the cord clamp
4
is
secure over the outer sheath.
5. Make sure the electricity supply voltage
is the same as that indicated on the ap-
pliance rating plate.
6. Switch on the appliance.
The appliance is supplied with a 13 amp
plug fitted
2
. In the event of having to
change the fuse in the plug supplied, a 13
amp ASTA approved (BS 1362) fuse must
be used.
Warning! A cut off plug inserted into a
13 amp socket is a serious safety
(shock) hazard. Ensure that it is
disposed of safely.
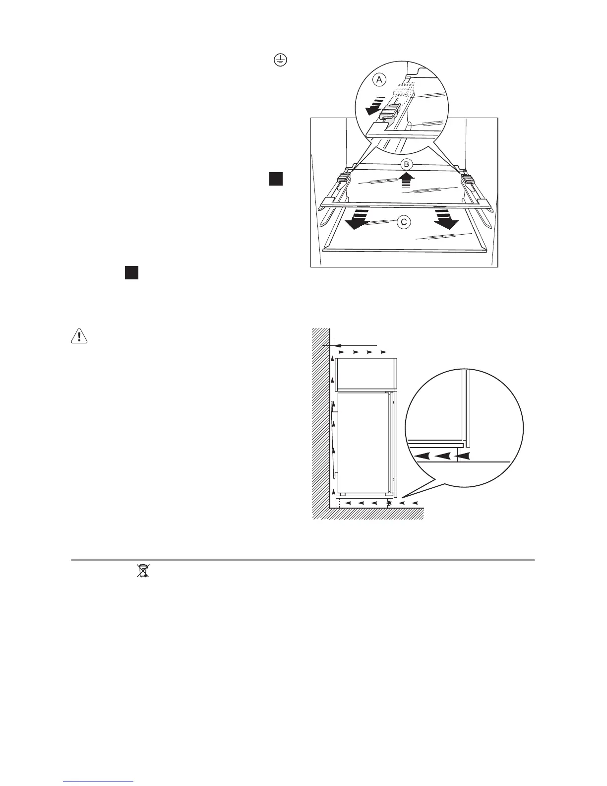
Removing the shelf holders
Your appliance is equipped with shelf retain-
ers that make it possible to secure the
shelves during transportation.
To remove them proceed as follows:
1. Move the shelf holders in the direction of
the arrow (A).
2. Raise the shelf from the rear and push it
forward until it is freed (B).
3. Remove the retainers (C).
Ventilation requirements
The airflow behind the appliance must be
sufficient.
min.
200 cm
2
min.
200 cm
2
ENVIRONMENTAL CONCERNS
The symbol on the product or on its
packaging indicates that this product may
not be treated as household waste. Instead
it should be taken to the appropriate
collection point for the recycling of electrical
and electronic equipment. By ensuring this
product is disposed of correctly, you will
help prevent potential negative
consequences for the environment and
human health, which could otherwise be
caused by inappropriate waste handling of
this product. For more detailed information
about recycling of this product, please
contact your local council, your household
waste disposal service or the shop where
you purchased the product.
10 electrolux

Related product manuals