EasyManua.ls Logo

Electrolux ERN1400AOW - Primer Uso; Uso Diario

Electrolux ERN1400AOW
56 pages
Print Icon
To Next Page IconTo Next Page
To Next Page IconTo Next Page
To Previous Page IconTo Previous Page
To Previous Page IconTo Previous Page
Loading...
3.3 Regulación de la
temperatura
La temperatura se regula
automáticamente.
Para utilizar el aparato, proceda como se
indica:
Gire el regulador de temperatura hacia
ajustes más bajos para obtener el frío
mínimo.
Gire el regulador de temperatura hacia
ajustes más altos para obtener el frío
máximo.
Lo más idóneo es ajustar la
temperatura en una posición
intermedia.
Sin embargo, el ajuste exacto debe
elegirse teniendo en cuenta que la
temperatura interior del aparato depende
de:
temperatura ambiente
la frecuencia con que se abre la puerta
la cantidad de alimentos guardados
ubicación del aparato.
PRECAUCIÓN!
Si la temperatura ambiente es
elevada o el aparato está
totalmente lleno y se ha
ajustado a las temperaturas
más bajas, puede
mantenerse en marcha de
manera continua provocando
la formación de escarcha en
la pared posterior. En tal
caso, el mando debe
colocarse a temperatura más
elevada para permitir la
descongelación automática y
reducir así el consumo
energético.
4. PRIMER USO
4.1 Limpieza del interior
Antes de utilizar el aparato por primera
vez, debe lavar su interior y todos los
accesorios internos con agua templada y
jabón neutro para eliminar el típico olor de
los productos nuevos. A continuación
seque bien todo.
PRECAUCIÓN!
No utilice detergentes ni
polvos abrasivos, ya que
podrían dañar el acabado.
5. USO DIARIO
ADVERTENCIA!
Consulte los capítulos sobre
seguridad.
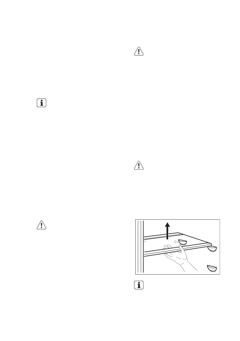
5.1 Estantes móviles
Las paredes del frigorífico cuentan con
una serie de guías para colocar los
estantes del modo que se prefiera.
No coloque el estante de
vidrio por encima del cajón
de verduras y del estante de
botellas para asegurar una
circulación de aire correcta.
www.electrolux.com44

Related product manuals