EasyManua.ls Logo

Electrolux ERN2012BOW - Aanwijzingen en Tips

Electrolux ERN2012BOW
Print Icon
To Next Page IconTo Next Page
To Next Page IconTo Next Page
To Previous Page IconTo Previous Page
To Previous Page IconTo Previous Page
Loading...
5.6 FreeStore-functie
Met de FreeStore-functie worden
etenswaren snel gekoeld en wordt de
temperatuur in het koelvak gelijkmatiger
behouden.
Schakel de FreeStore in als
de kamertemperatuur hoger
dan 25° C is.
Druk op de schakelaar (A) om de
ventilator aan te zetten. Het groene
lampje (B) gaat aan.
A
B
Onthoud dat als u het
apparaat uitschakelt u ook
de ventilator uitzet door op
knop (A) te drukken. Het
groene lampje (B) gaat uit.
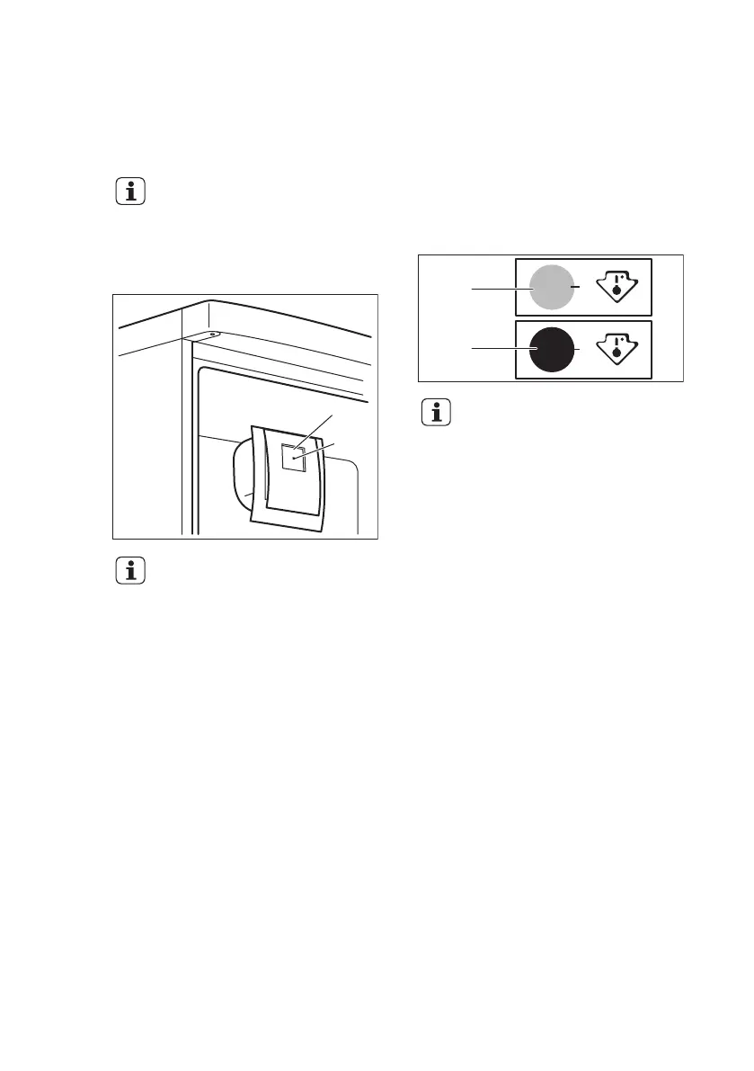
5.7 Indicatielampje voor
temperatuur
Voor de juiste bewaring van het voedsel
is de koelkast uitgerust met een
temperatuurlampje. Het symbool op de
zijkant van het apparaat duidt het
koudste deel van de koelkast aan.
Als OK wordt weergegeven (A), plaatst u
het verse voedsel in het gedeelte dat
wordt aangegeven door het symbool. Zo
niet (B) past u de temperatuurregelaar
aan naar een koudere stand en wacht u
12 uur voordat u het temperatuurlampje
weer controleert.
OK
OK
A
B
Nadat u verse
levensmiddelen in de
koelkast heeft gelegd of
nadat de deur regelmatig of
langer is open geweest, is
het normaal dat er geen OK
wordt weergegeven; wacht
minstens 12 uur voordat u
de temperatuur opnieuw
instelt.
6. AANWIJZINGEN EN TIPS
6.1 Normale bedrijfsgeluiden:
De volgende geluiden zijn normaal
tijdens de werking:
Een zacht gorgelend en borrelend
geluid als het koelmiddel door
leidingen wordt gepompt.
Een zoemend en kloppend geluid van
de compressor als het koelmiddel
wordt rondgepompt.
Een plotseling krakend geluid uit de
binnenkant van het apparaat
veroorzaakt door thermische uitzetting
(een natuurlijk en ongevaarlijk
natuurkundig fenomeen).
Een zacht klikkend geluid van de
thermostaat als de compressor aan of
uit gaat.
6.2 Tips voor energiebesparing
De deur niet vaker openen of open
laten staan dan strikt noodzakelijk.
www.electrolux.com8

Related product manuals