EasyManua.ls Logo

Electrolux ERN2212BOW - Täglicher Gebrauch

Electrolux ERN2212BOW
Print Icon
To Next Page IconTo Next Page
To Next Page IconTo Next Page
To Previous Page IconTo Previous Page
To Previous Page IconTo Previous Page
Loading...
5. TÄGLICHER GEBRAUCH
WARNUNG!
Siehe Kapitel
Sicherheitshinweise.
5.1 Verstellbare Ablagen
Die Wände des Kühlschranks sind mit
einer Reihe von Führungsschienen
ausgestattet, die verschiedene
Möglichkeiten für das Einsetzen der
Ablagen bieten.
Die Glasablage über der
Gemüseschublade und der
Flaschenhalter sollten
jedoch nicht verstellt
werden, um eine korrekte
Luftzirkulation zu
gewährleisten.
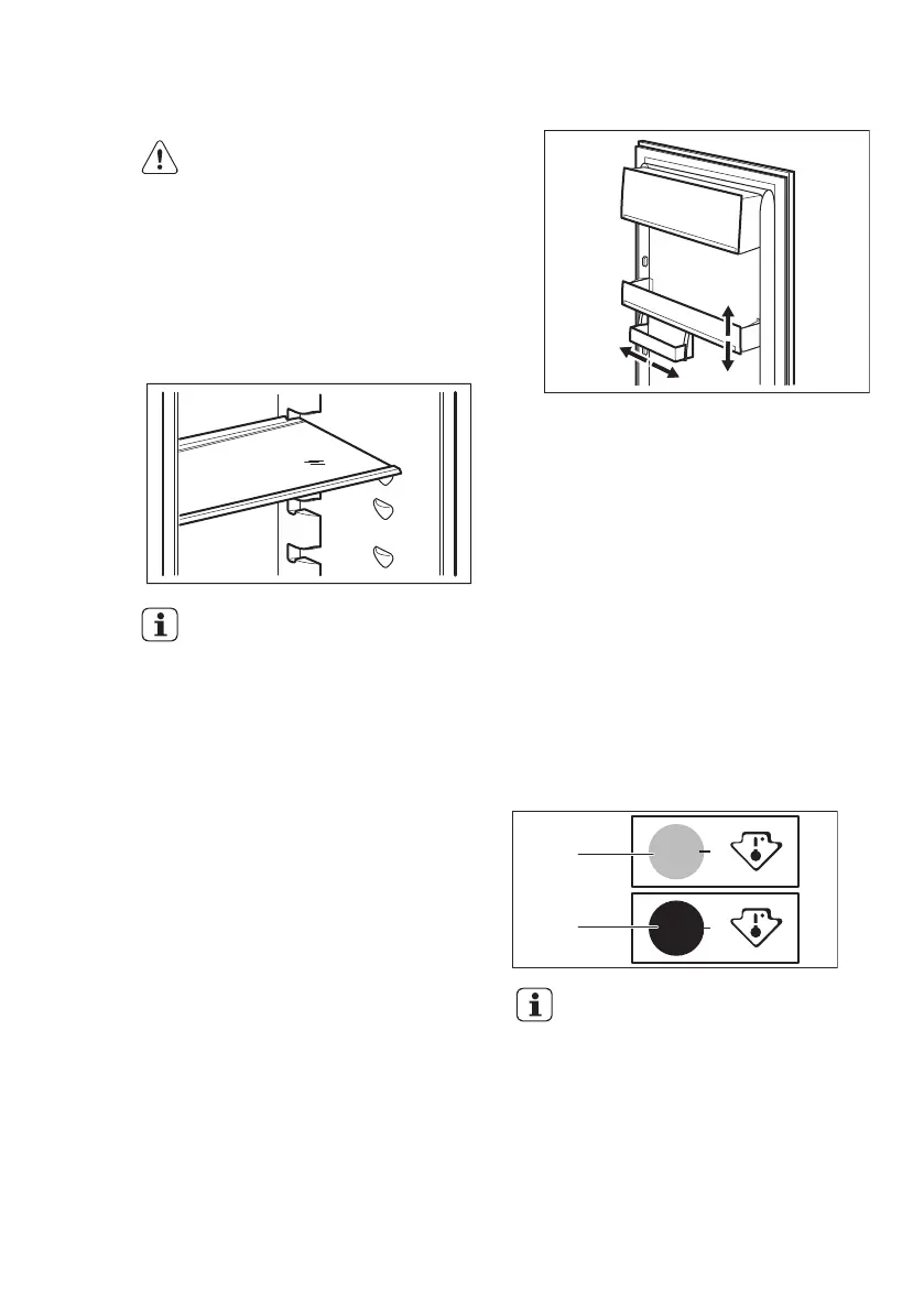
5.2 Positionierung der
Türablagen
Die Türablagen können in verschiedener
Höhe positioniert werden; damit
ermöglichen sie das Lagern verschieden
großer Lebensmittelpackungen.
1. Ziehen Sie die Ablage langsam in
Pfeilrichtung, bis sie sich löst.
2. Setzen Sie die Ablage in der
gewünschten Höhe wieder ein.
Dieses Modell ist mit einem variablen
Lagerfach ausgerüstet, das sich
seitlich verschieben lässt.
5.3 Temperaturanzeige
Um eine korrekte Lagerung der
Lebensmittel zu gewährleisten, verfügt
dieser Kühlschrank über eine
Temperaturanzeige. Das Symbol an der
Seitenwand des Geräts zeigt den
kältesten Bereich im Kühlraum an.
Legen Sie bei der Anzeige OK (A) frische
Lebensmittel in den durch das Symbol
angezeigten Bereich; sollte kein
„OK“ angezeigt werden (B), dann stellen
Sie eine niedrigere Temperatur ein und
warten Sie 12 Stunden, bevor Sie die
Temperaturanzeige erneut prüfen.
OK
OK
A
B
Nachdem frische
Lebensmittel eingelagert
wurden oder nach häufigem
oder langem Öffnen der Tür,
ist es normal, wenn die
Anzeige nicht OK anzeigt.
Warten Sie mindestens 12
Stunden, bevor Sie den
Temperaturregler neu
einstellen.
www.electrolux.com46

Related product manuals