EasyManua.ls Logo

Electrolux ES 15 - General Description

Electrolux ES 15
15 pages
Print Icon
To Next Page IconTo Next Page
To Next Page IconTo Next Page
To Previous Page IconTo Previous Page
To Previous Page IconTo Previous Page
Loading...
ENGLISH – 1
A. GENERAL DESCRIPTION
1)
Rear handle
2)
Rear hand guard
3)
Front handle
4)
Front hand guard/chain brake lever
5)
Chain tensioner knob/screw
6)
Chain tensioner pin
7)
Oil tank cap
8)
Oil tank inspection gauge
9)
Air vents
10)
Cable
11)
Manual
12)
Switch
13)
Switch block
14)
Chain
15)
Drive tooth
16)
Cutting link
17)
Cutting depth gauge
18)
Cutting tooth
19)
Bar
20)
Chain cover
21)
Pinion
22)
Chain catcher
23)
Bar retaining screws
24)
Bar retaining knob / nuts
25)
Nose sprocket
26)
Guide bar cover guard
27)
Spiked bumper
28)
Chain tensioner pin housing
29)
Lubrication hole
30)
Guide groove
31)
Oil pump adjustment knob
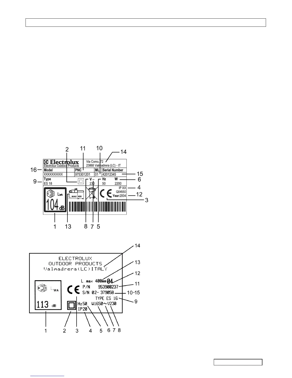
Example of identification label
LEGEND:
1) Guaranteed noise level according to directive
2000/14/EC
2) Double insulation
3) CE marking of conformity
4) Protection degree
5) Rated frequency
6) Rated power
7) Alternate current
8) Rated voltage
9) Type
10) Prefix
11) Product code
12) Year of manufacture (last two figures; e.g. 04=2004)
13) Maximum bar length
14) Manufacturer’s name and address
15) Serial number
16)
Model

Related product manuals