EasyManua.ls Logo

Electrolux ESF 45010 - Control Panel

Electrolux ESF 45010
48 pages
Print Icon
To Next Page IconTo Next Page
To Next Page IconTo Next Page
To Previous Page IconTo Previous Page
To Previous Page IconTo Previous Page
Loading...
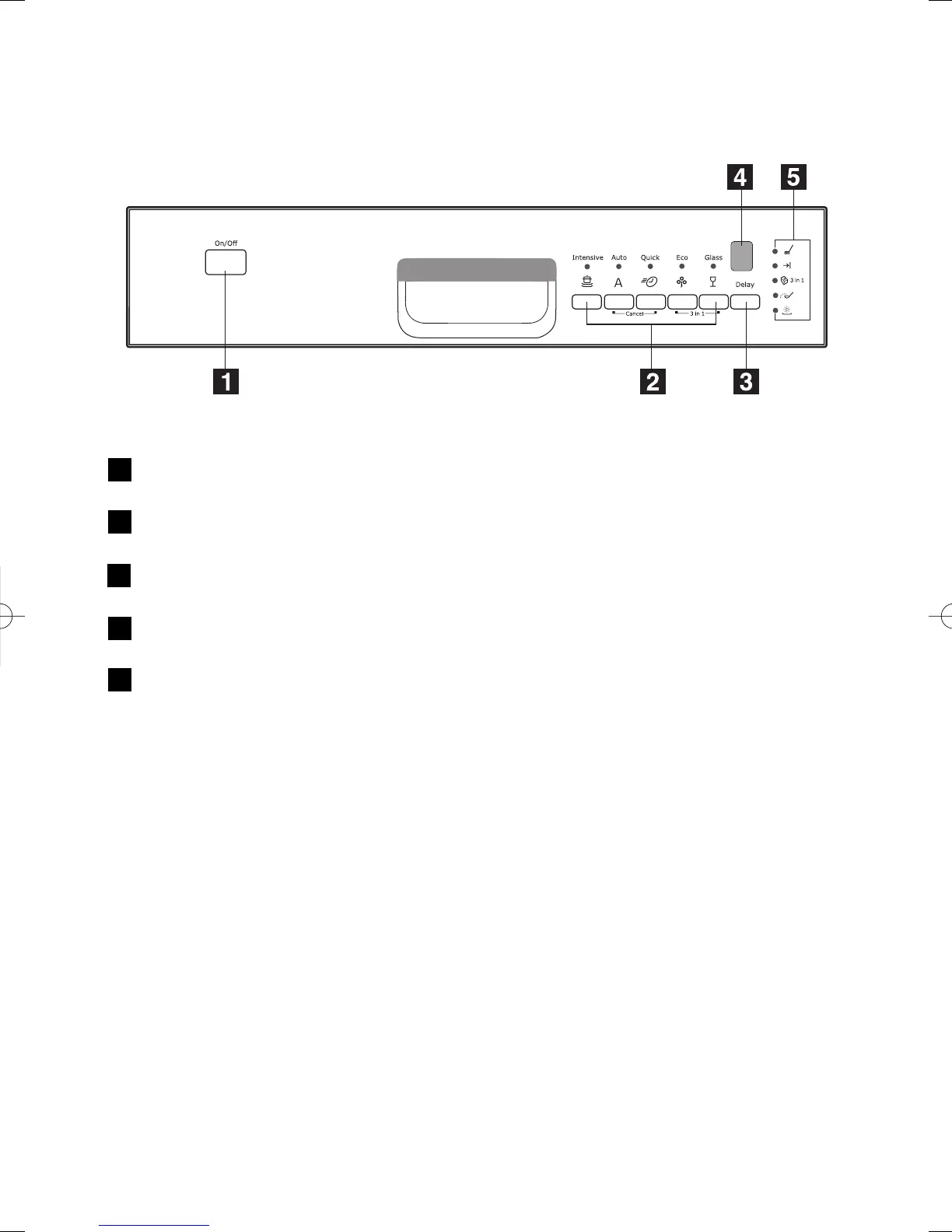
8 electrolux control panel
Control panel
On/Off button
Programme selection buttons
Delay start button
Digital display
Indicator lights
1
2
3
4
5
117997 87/1en 2-05-2007 11:32 Pagina 8

Table of Contents

Related product manuals