EasyManua.ls Logo

Electrolux ESF5206LOW - Control Panel

Electrolux ESF5206LOW
19 pages
Print Icon
To Next Page IconTo Next Page
To Next Page IconTo Next Page
To Previous Page IconTo Previous Page
To Previous Page IconTo Previous Page
Loading...
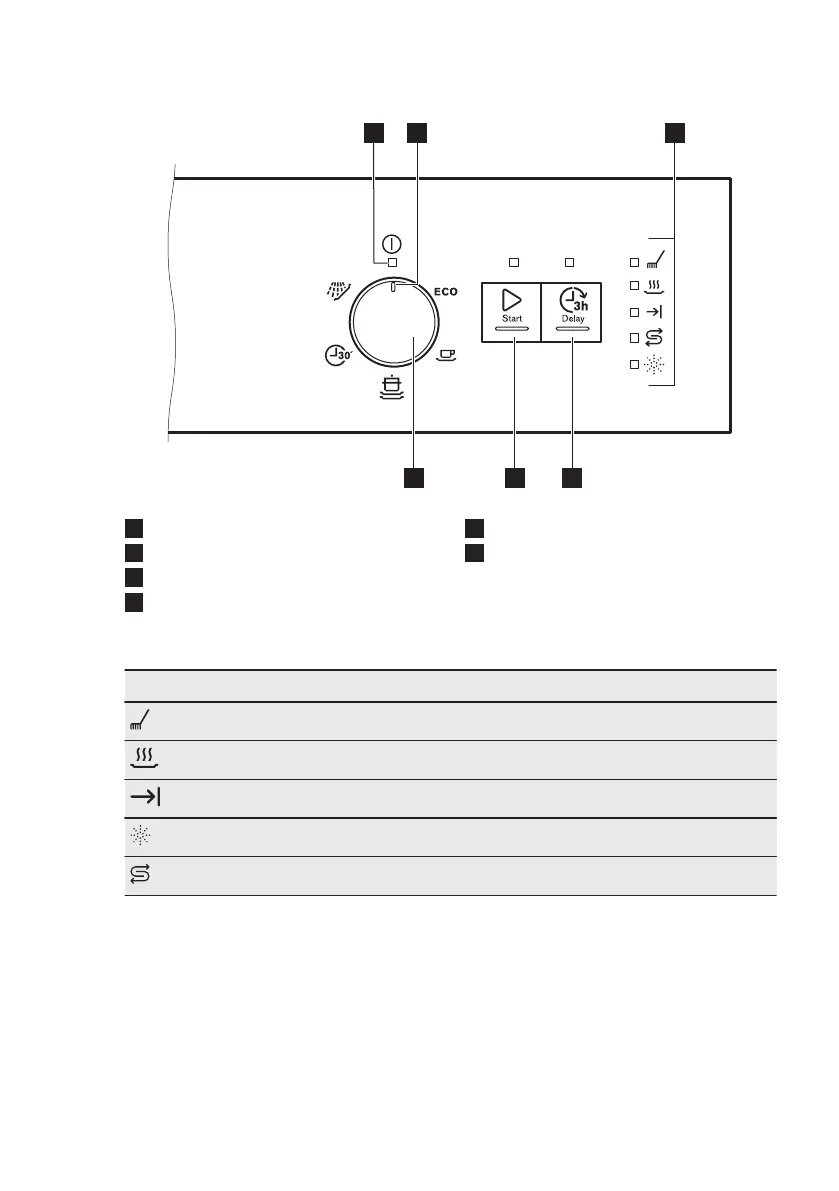
4. CONTROL PANEL
1 2 3
456
1
On/off indicator
2
Programme marker
3
Indicators
4
Delay button
5
Start button
6
Programme knob
4.1 Indicators
Indicator Description
Washing phase. It comes on when the washing phase operates.
Drying phase. It comes on when the drying phase operates.
End indicator.
Rinse aid indicator. It is always off while the programme operates.
Salt indicator. It is always off while the programme operates.
www.electrolux.com6

Related product manuals