EasyManua.ls Logo

Electrolux ESF5512LOW - Description de Lappareil

Electrolux ESF5512LOW
48 pages
Print Icon
To Next Page IconTo Next Page
To Next Page IconTo Next Page
To Previous Page IconTo Previous Page
To Previous Page IconTo Previous Page
Loading...
électroménagers, telles que la
température, les vibrations, l’humidité,
ou sont conçues pour signaler des
informations sur le statut opérationnel
de l’appareil. Elles ne sont pas
destinées à être utilisées dans
d'autres applications et ne
conviennent pas à l’éclairage des
pièces d’un logement.
Pour remplacer l'éclairage intérieur,
contactez le service après-vente
agréé.
2.6 Service
Pour réparer l'appareil, contactez un
service après-vente agréé. Utilisez
exclusivement des pièces d'origine.
Veuillez noter qu’une autoréparation
ou une réparation non professionnelle
peuvent avoir des conséquences sur
la sécurité et annuler la garantie.
2.7 Mise au rebut
AVERTISSEMENT!
Risque de blessure ou
d'asphyxie.
Débranchez l'appareil de
l'alimentation électrique.
Coupez le câble d'alimentation et
mettez-le au rebut.
Retirez le dispositif de verrouillage de
la porte pour empêcher les enfants et
les animaux de s'enfermer dans
l'appareil.
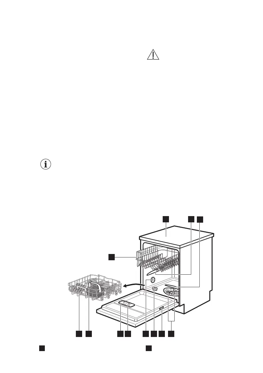
3. DESCRIPTION DE L'APPAREIL
L’illustration ci-dessous n’est
qu’un aperçu général du
produit. Pour des
informations plus détaillées,
consultez les autres
chapitres et/ou les
documents fournis avec
l’appareil.
5
4
8
10
9
11
67
12
2
3
1
1
Plan de travail
2
Bras d’aspersion supérieur
www.electrolux.com28

Related product manuals