EasyManua.ls Logo

Electrolux ESF6140 - The Control Panel

Electrolux ESF6140
24 pages
Print Icon
To Next Page IconTo Next Page
To Next Page IconTo Next Page
To Previous Page IconTo Previous Page
To Previous Page IconTo Previous Page
Loading...
5
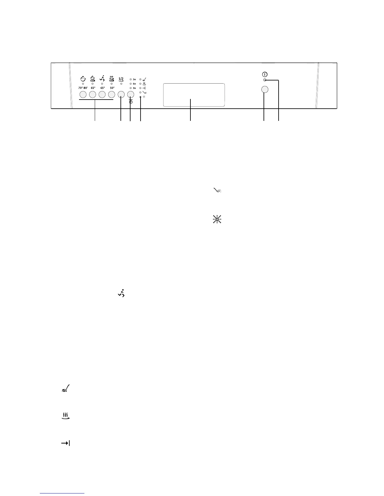
1. Programme selection push
buttons
2. HALF LOAD push button
This option is useful and economical when
only a few dishes need washing.
By pressing this push button, the corresponding
indicator light comes on and the prewash
phase is automatically excluded.
If the indicator light is off, the washing
programme will be carried out completely.
Remember to load all the dishes into both
baskets.
With programme 65° this option is
automatically deactivated.
3. DELAY START push button
This option allows the start of the programme to
be delayed by 3, 6 or 9 hours.
4. Indicator lights
Phase indicator lights
WASHING phase
illuminates when the washing phase is
running
DRYING phase
illuminates when the drying phase is
running
END OF PROGRAMME
illuminates when the washing programme
has ended
Salt and rinse aid indicator lights
SALT refilling indicator light
illuminates when the salt has run out and
the salt container requires refilling.
RINSE AID refilling indicator light
illuminates when the rinse aid has run
out and the rinse aid container requires
refilling.
5. Door handle
6. ON-OFF push button
7. ON-OFF indicator light
The control panel
1 2
3
5 6 7
4

Related product manuals