EasyManua.ls Logo

Electrolux ESF6500LOW - Control Panel

Electrolux ESF6500LOW
20 pages
Print Icon
To Next Page IconTo Next Page
To Next Page IconTo Next Page
To Previous Page IconTo Previous Page
To Previous Page IconTo Previous Page
Loading...
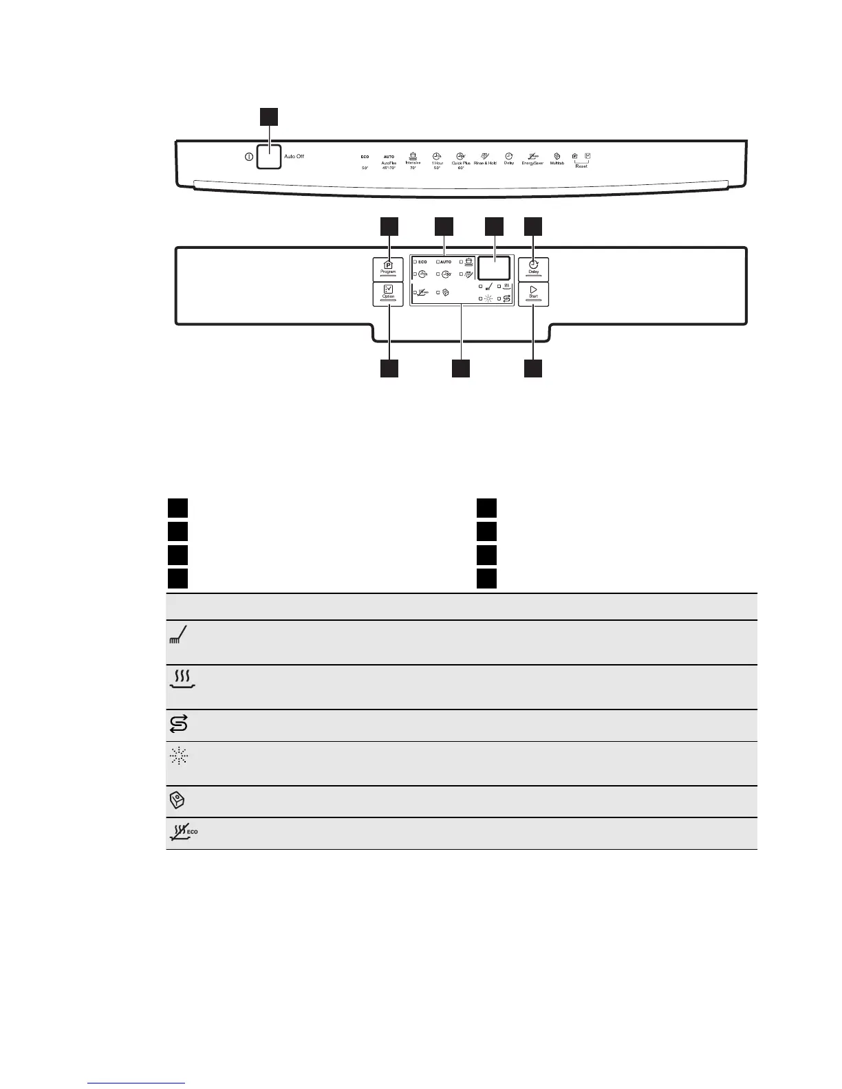
3. CONTROL PANEL
1
2 4 5
678
3
1
On/off button
2
Program button
3
Programme indicators
4
Display
5
Delay button
6
Start button
7
Indicators
8
Option button
Indicators Description
Washing phase indicator. It comes on when the washing phase
and the rinsing phases operate.
Drying phase indicator. It comes on when the drying phase oper-
ates.
Salt indicator. It is always off while the programme operates.
Rinse aid indicator. It is always off while the programme oper-
ates.
Multitab indicator.
EnergySaver indicator.
6
www.electrolux.com

Related product manuals