EasyManua.ls Logo

Electrolux ESL63010 - Su Bağlantısı

Electrolux ESL63010
76 pages
Print Icon
To Next Page IconTo Next Page
To Next Page IconTo Next Page
To Previous Page IconTo Previous Page
To Previous Page IconTo Previous Page
Loading...
SU BAĞLANTISI
Su giriş hortumu
Bu cihaz, bir sıcak (maks. 60°) veya soğuk
su beslemesine bağlanabilir.
Eğer sıcak su çevreyle dost, alternatif enerji
kaynaklarından geliyorsa (örneğin güneş ve-
ya fotovoltaj panelleri ve rüzgar), enerji tüke-
timini azaltmak için sıcak su kaynağını kulla-
nınız.
Su giriş hortumunu, 3/4" ebadında, harici
dişli bir su musluğuna takınız.
Dikkat Eski bir cihazın bağlantı
hortumlarını kullanmayınız.
Su basıncı, sınır değerleri dahilinde olmalıdır
('Teknik özellikler' bölümüne bakınız). Böl-
genizdeki ortalama şebeke basıncı değerini,
yerel su idarenizden öğreniniz.
Su giriş hortumunun bükülmediğinden ve
ezilmediğinden veya dolaşmadığından emin
olunuz.
Su kaçağı olmaması için, kilit somununu
doğru bir şekilde takınız.
Dikkat Cihazı yeni borulara veya uzun
bir süre kullanılmamış olan borulara
bağlamayınız. Suyun birkaç dakika
akmasını bekleyiniz, daha sonra giriş
hortumunu bağlayınız.
Tahliye hortumu
1. Su tahliye hortumunu lavabo tahliyesine
bağlayın ve mutfak tezgahının altından
takın. Bu, atık suyun lavabodan cihaza
akışını engeller.
2. Su tahliye hortumunu, havalandırma
menfezli (minimum dahili çapı 4 cm
olan) bir tezgah borusuna bağlayın.
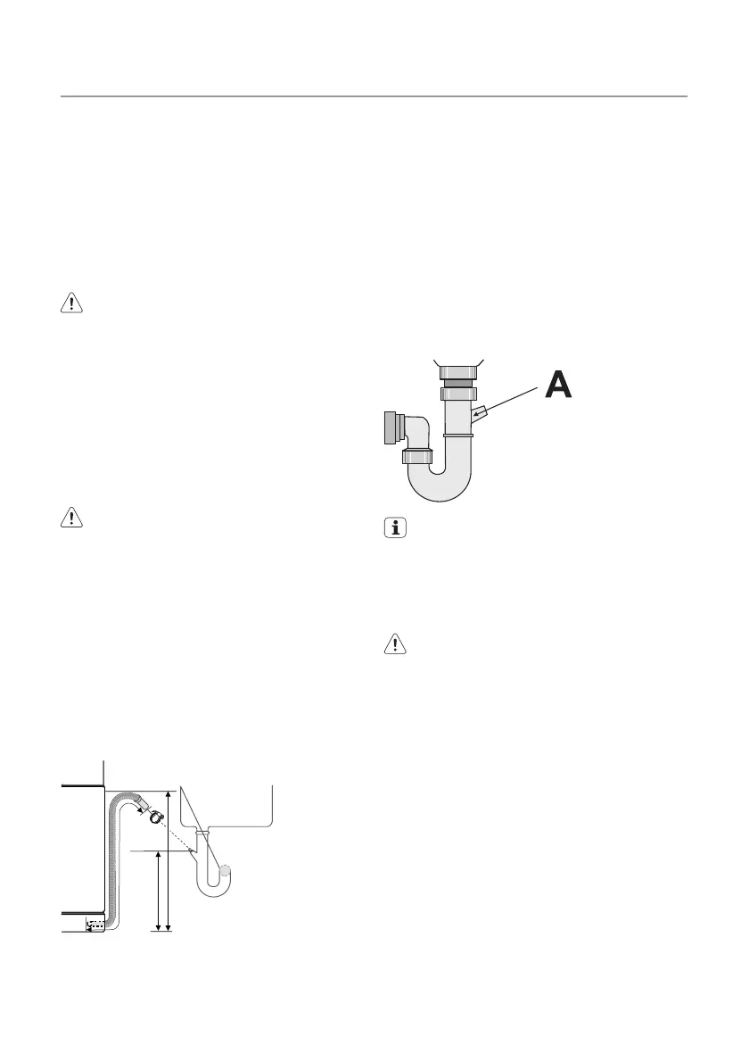
max 85 cm
min 40 cm
max 400 cm
Su tahliyesinin doğru bir şekilde yapılabilme-
si için, tahliye hortumunun bükülmediğinden
veya ezilmediğinden emin olun.
Atık suyun cihaza geri akışını önlemek için,
cihaz tahliye yaparken lavabo tapasını çıka-
rın.
Bir tahliye hortumunun uzatması en fazla 2
m olabilir. İç çap, hortumun çapından daha
küçük olmamalıdır.
Su tahliye hortumunu süzgeçli bir lavabo-altı
tahliye borusuna bağlıyorsanız, plastik
membranı (A) çıkarın. Membranı çıkarmaz-
sanız, yiyecek kalıntıları tahliye hortumunun
süzgecini tıkayabilir.
Cihaz, atık suyun cihaza geri akışını ön-
leyen bir güvenlik fonksiyonuna sahiptir.
Lavabo tahliyesinde bir 'tek yönlü valf'
varsa, bu valf, cihazın doğru tahliye
yapmasına engel olabilir. Tek yönlü valfi
çıkarın.
Dikkat Su kaçağı olmamasıin, su
bağlantılarının sıkı olduğundan emin
olun.
52 electrolux

Table of Contents

Related product manuals