EasyManua.ls Logo

Electrolux ESL7510RO - Control Panel

Electrolux ESL7510RO
28 pages
Print Icon
To Next Page IconTo Next Page
To Next Page IconTo Next Page
To Previous Page IconTo Previous Page
To Previous Page IconTo Previous Page
Loading...
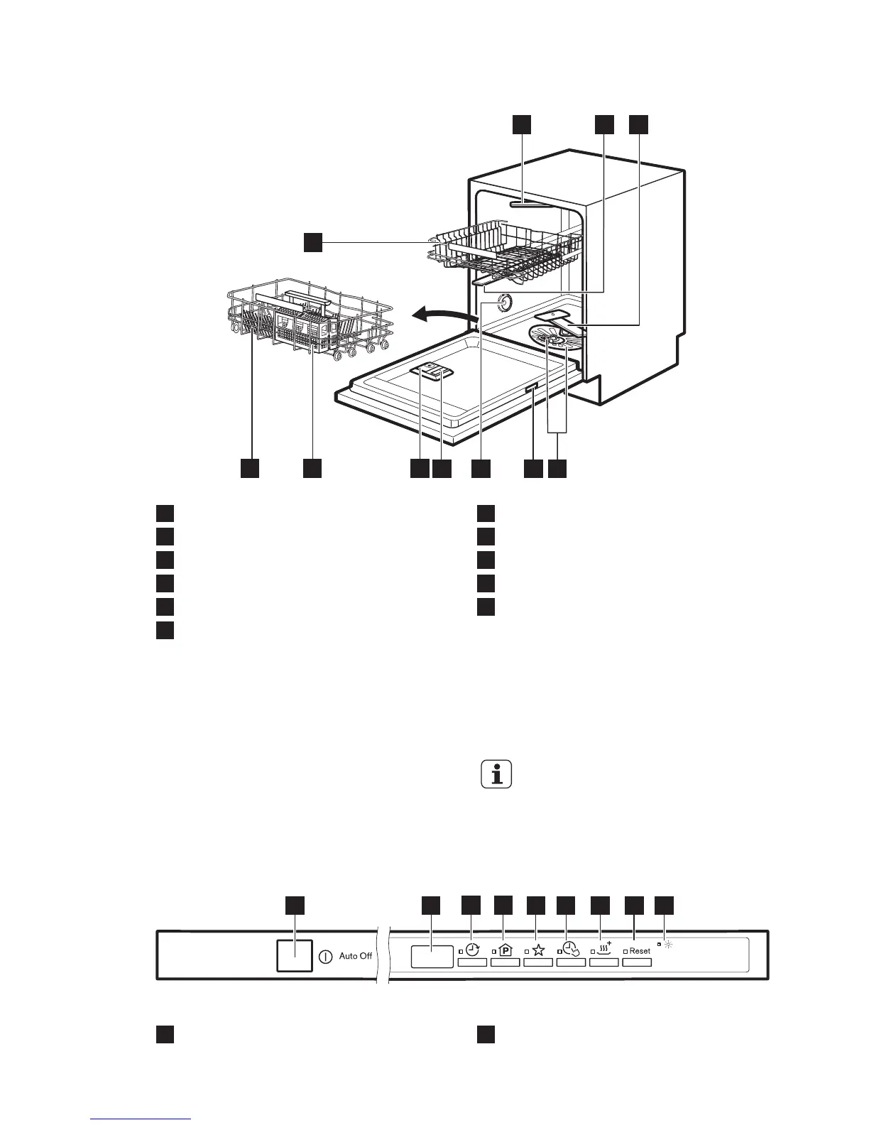
3. PRODUCT DESCRIPTION
5
4
6
8
7
11
2
3
1
10 9
1
Top spray arm
2
Upper spray arm
3
Lower spray arm
4
Filters
5
Rating plate
6
Air vent
7
Rinse aid dispenser
8
Detergent dispenser
9
Cutlery basket
10
Lower basket
11
Upper basket
3.1 Beam-on-Floor
The Beam-on-Floor is a light that shows
on the kitchen floor below the appliance
door.
When the programme starts, a red
light comes on and stays on for all the
duration of the programme.
When the programme is completed, a
green light comes on.
When the appliance has a
malfunction, the red light flashes.
The Beam-on-Floor goes off
when the appliance is
deactivated.
4. CONTROL PANEL
1
2
3
4
5
6
7
8
9
1
On/off button
2
Display
www.electrolux.com6

Related product manuals