EasyManua.ls Logo

Electrolux EUC2244AOW - Page 7

Electrolux EUC2244AOW
20 pages
Print Icon
To Next Page IconTo Next Page
To Next Page IconTo Next Page
To Previous Page IconTo Previous Page
To Previous Page IconTo Previous Page
Loading...
Climate
class
Ambient temperature
SN +10°C to + 32°C
N +16°C to + 32°C
ST +16°C to + 38°C
T +16°C to + 43°C
Some functional problems
might occur for some types
of models when operating
outside of that range. The
correct operation can only
be guaranteed within the
specified temperature range.
If you have any doubts
regarding where to install the
appliance, please turn to the
vendor, to our customer
service or to the nearest
Authorised Service Centre.
3.3 Electrical Connection
CAUTION!
Any electrical work required
to install this appliance
should be carried out by a
qualified electrician or
competent person.
WARNING!
This appliance must be
earthed.
The manufacturer declines
any liability should these
safety measures not be
observed.
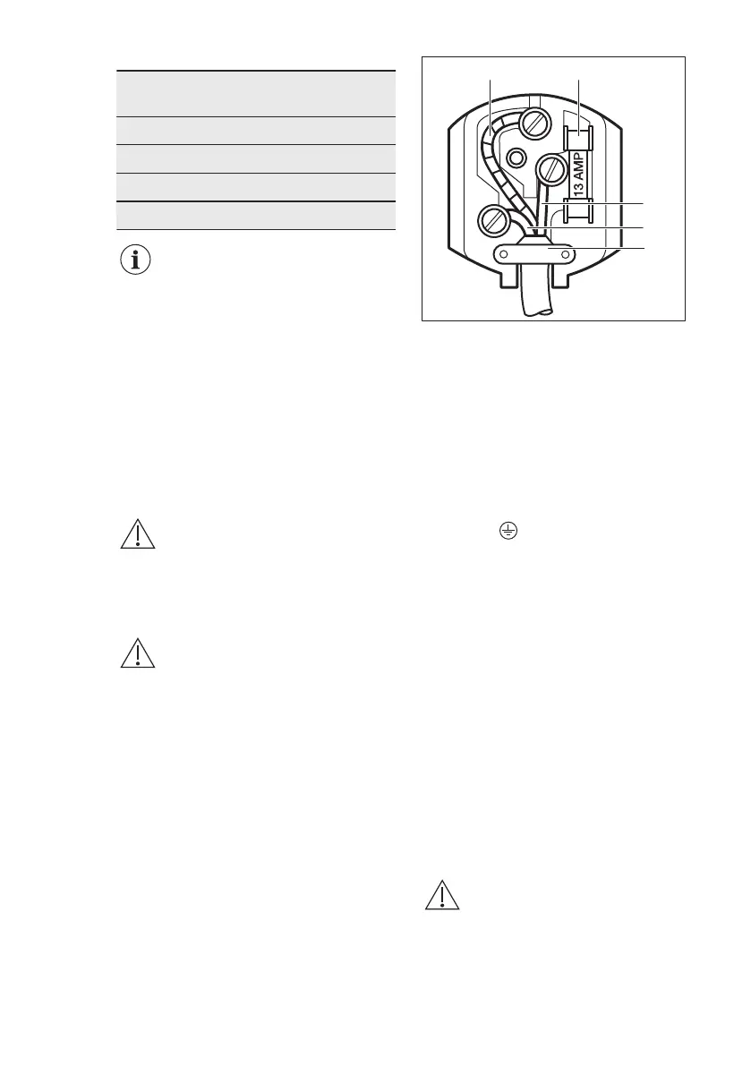
The wires in the mains lead are coloured
in accordance with the following code:
A B
C
D
E
A - green and yellow: Earth
C - brown: Live
D - blue: Neutral
As the colours of the wires in the mains
lead of this appliance may not
correspond with the coloured markings
identifying the terminals in your plug,
proceed as follows:
1. Connect the wire coloured green and
yellow to the terminal marked either
with the letter “E“ or by the earth
symbol
or coloured green and
yellow.
2. Connect the wire coloured blue to the
terminal either marked with the letter
“N“ or coloured black.
3. Connect the wire coloured brown to
the terminal either marked with the
“L“ or coloured red.
4. Check that no cut, or stray strands of
wire is present and the cord clamp
(E) is secure over the outer sheath.
Make sure the electricity supply
voltage is the same as that indicated
on the appliance rating plate.
5. Switch on the appliance.
The appliance is supplied with a 13 amp
fuse (B). In the event of having to
change the fuse in the plug supplied, a
13 amp ASTA approved (BS 1362) fuse
must be used.
WARNING!
A cut off plug inserted into a
13 amp socket is a serious
safety (shock) hazard.
Ensure that it is disposed of
safely.
ENGLISH 7

Related product manuals