EasyManua.ls Logo

Electrolux EUF 23800 - Door Reversibility; Instructions for totally built-in appliances

Electrolux EUF 23800
20 pages
Print Icon
To Next Page IconTo Next Page
To Next Page IconTo Next Page
To Previous Page IconTo Previous Page
To Previous Page IconTo Previous Page
Loading...
15
Instructions for totally built-in
appliances
Recess dimensions
Height (1) 1780 mm
Depth (2) 550 mm
Width (3) 560 mm
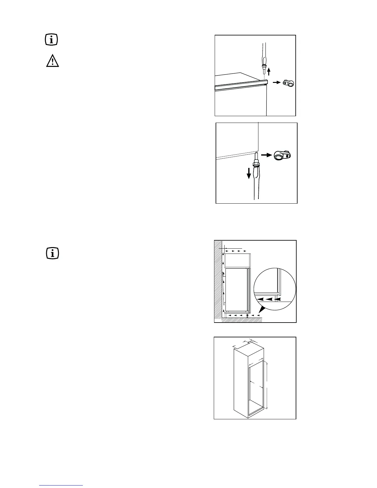
The appliance’s door has been locked in position
for transport by means of pins on both sides.
According to the door opening direction, remove
relevant pins at the top and at the bottom.
To ensure adequate ventilation, allow the clearances
shown in figure.
Furthermore, it is necessary that the cabinet has a
ventilation recess with the following dimensions:
depth 50 mm
width 540 mm
50 mm
min.
200 cm
2
200 cm
2
min.
D567
Door Reversibility
The appliance is supplied with the door
opening to the right.
For door opening in the opposite direction,
perform the following actions prior to
installation
1. Unscrew the upper pin and remove the spacer
2. Remove the door.
3. Unscrew the lower pin and remove the spacer;
replace them on the opposite side.
4. Reinsert the door and screw the pin and the
spacer back in place on the opposite side.
PR01
540
50
3
2
1