EasyManua.ls Logo

Electrolux EVY7600AAX - Additional Functions

Electrolux EVY7600AAX
36 pages
Print Icon
To Next Page IconTo Next Page
To Next Page IconTo Next Page
To Previous Page IconTo Previous Page
To Previous Page IconTo Previous Page
Loading...
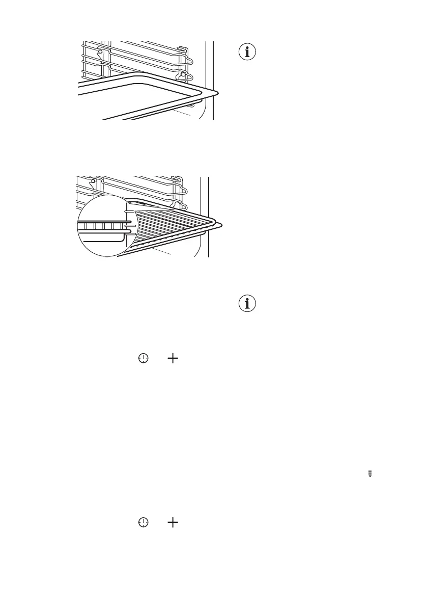
Wire shelf and baking tray together:
Push the baking tray between the guide
bars of the shelf support and the wire
shelf on the guide bars above.
Small indentation at the top
increase safety. The
indentations are also anti-tip
devices. The high rim
around the shelf prevents
cookware from slipping of
the shelf.
9. ADDITIONAL FUNCTIONS
9.1 Using the Child Lock
When the Child Lock is on the oven
cannot be turned on accidentally.
1. Ensure the knob for the oven
functions is in the off position.
2. Press and hold
and at the
same time for 2 seconds.
The signal sounds. SAFE appears on the
display.
To turn off the Child Lock, repeat step 2.
9.2 Using the Function Lock
You can turn on the Function Lock
function only when the oven operates.
When the Function lock is on the
temperature and time settings of a
running oven function cannot be
changed accidentally.
1. Select an oven function and set it
according your preferences.
2. Press and hold
and at the
same time for 2 seconds.
The signal sounds. Loc appears on the
display for 5 seconds.
Loc appears on the display
when you turn the knob for
the temperature or press any
button when the Function
lock is on.
When you turn the knob for the oven
functions, the oven stops.
When you turn off the oven while the
Function Lock is on, the Function Lock
switches automatically to the Child Lock.
Refer to "Using the Child Lock".
To turn off the Function Lock, repeat step
2.
9.3 Residual heat indicator
When you turn off the oven, the display
shows the residual heat indicator
if
the temperature in the oven is more than
40 °C.
9.4 Automatic Switch-off
For safety reasons the appliance
deactivates automatically after some time
if an oven function operates and you do
not change any settings.
www.electrolux.com16

Related product manuals