EasyManua.ls Logo

Electrolux EW6F1495FC - Page 24

Electrolux EW6F1495FC
40 pages
Print Icon
To Next Page IconTo Next Page
To Next Page IconTo Next Page
To Previous Page IconTo Previous Page
To Previous Page IconTo Previous Page
Loading...
With the flap in the position DOWN:
Do not use gelatinous or thick
liquid detergents.
Do not exceed to liquid detergent
dose indicated on the flap.
Do not set the prewash phase.
Do not set the delay start function.
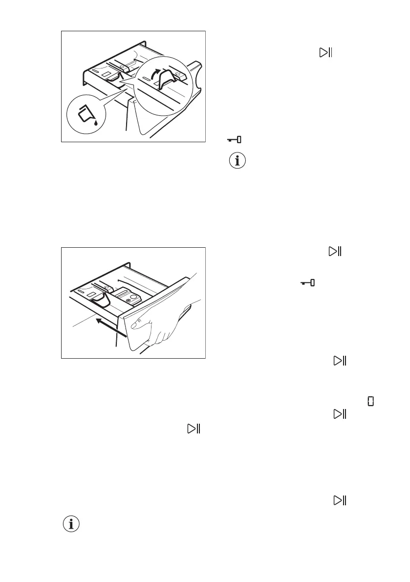
5. Measure out the detergent and the
fabric conditioner.
6. Carefully close the detergent
dispenser.
Make sure that the flap does not cause a
blockage when you close the drawer.
12.5 Setting a programme
1. Turn the programme dial to select the
desired washing programme.
The indicator of the Départ/Pause
button flashes.
The display shows an indicative
programme duration.
2. To change the temperature and/or
the spin speed, touch the related
buttons.
3. If desired, set one or more options by
touching the related buttons.
If a selection is not possible
an acoustic signal sounds.
12.6 Starting a programme
Touch the Départ/Pause button to
start the programme. It is not possible to
start the programme when the indicator
of the button is off and doesn't flash (e.g.
programme dial on a wrong position).
The related indicator stops flashing and
stays on.
The programme starts, the door is
locked. The display shows the indicator
.
The drain pump can operate
shortly before the appliance
fills water.
12.7 Starting a programme with
the delay start
1. Touch the Départ Différé button until
the display shows the desired delay time.
The related indicator comes on.
2. Touch the Départ/Pause button.
The appliance door locks and starts the
countdown of the delay start. The display
shows the indicator .
When the countdown is completed, the
programme starts automatically.
Cancelling the delay start after
the countdown has started
To cancel the delay start:
1. Touch the Départ/Pause button
to pause the appliance. The related
indicator flashes.
2. Touch the Départ Différé button
repeatedly until the display shows .
3. Touch the Départ/Pause
button
again to start the programme
immediately.
Changing the delay start after
the countdown has started
To change the delay start:
1. Touch the Départ/Pause button
to pause the appliance. The related
indicator flashes.
www.electrolux.com24

Related product manuals