EasyManua.ls Logo

Electrolux EW8F169SA - Cleaning the drum; Cleaning the detergent dispenser and the AutoDose tanks

Electrolux EW8F169SA
60 pages
Print Icon
To Next Page IconTo Next Page
To Next Page IconTo Next Page
To Previous Page IconTo Previous Page
To Previous Page IconTo Previous Page
Loading...
Regularly examine the seal and remove
all objects from the inner part. Coins,
buttons, other small items forgotten in
the pockets of your clothes are deposited
during the washing cycle in the special
double lip trap in the porthole seal, where
they can be conveniently recovered at
the end of the cycle.
12.5 Cleaning the drum
Regularly examine the drum to prevent
unwanted deposits.
Rust deposits in the drum may occur due
to rusting foreign body in the washing or
tap water containing iron
Clean the drum with special products for
stainless steel.
Always follow the
instructions that you find on
the packaging of the
product.
Do not clean the drum with
acidic descaling products,
scouring products containing
chlorine or iron or steel wool.
For a thorough clean:
1. Remove all laundry from the drum.
2. Deactivate AutoDose function for
detergent and softener.
3. Run a Cottons programme with
the highest temperature.
4. Add a manually small quantity of
powder detergent or a specific
product into the empty drum, in order
to rinse out any left residues.
Occasionally, at the end of a
cycle the display may show
the icon : this is a
recommendation to perform
the “drum cleaning”. Once
the drum cleaning has been
performed, the icon
disappears.
12.6 Cleaning the detergent
dispenser and the AutoDose
tanks
Before cleaning, make sure
that the all compartments
are empty.
To prevent possible deposits of dried
detergent, clotted fabric softener,
formation of mould in the detergent
dispenser and/or clotted liquid additives
in the AutoDose tanks, once in a while
carry out the following cleaning
procedure:
Cleaning procedure is also
suggested when brand or
type of detergent, fabric
softener or additives are
changed inside the tanks.
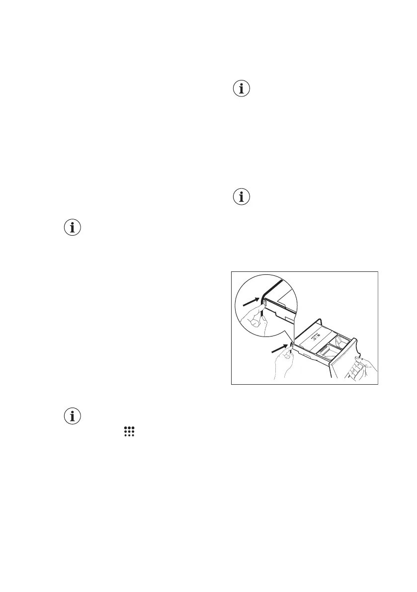
1. Open the detergent dispenser. Press
the catch as indicated in the picture
and pull the detergent dispenser out.
2. Remove the insert for the softener
and, if inserted, the container for
liquid detergent.
www.electrolux.com40

Related product manuals