EasyManua.ls Logo

Electrolux EWF 630 - Use; Control Panel; Controls

Electrolux EWF 630
23 pages
Print Icon
To Next Page IconTo Next Page
To Next Page IconTo Next Page
To Previous Page IconTo Previous Page
To Previous Page IconTo Previous Page
Loading...
10
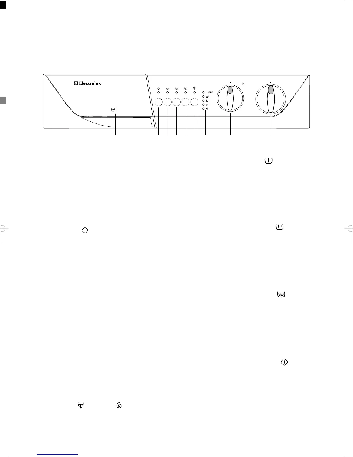
Use
1 Detergent dispenser drawer
2 “DELAY START” button
This button makes it possible to delay the starting of
the washing programme by 8 and 4 hours. The delay
you have selected is indicated by the coming on of
the corresponding light.
You must select this option after you have set
the programme and before you press the START
PAUSE button .
You can cancel the delay time at any moment,
before you press the START/PAUSE button.
If you have already pressed the START/PAUSE
button, and you wish to cancel the delay time,
proceed as follows:
• set the washing machine to PAUSE by pressing the
START/PAUSE button;
• press the DELAY button once, the light relevant to
the selected delay goes off .
• press the START/PAUSE button again to start the
programme.
Important!
To modify the DELAY START: first you have to
cancel the previously selected programme by
turning the programme selector dial to “O”. Select
again the desired programme and set the new
DELAY START.
The door will be locked throughout the delay time.
If you need to open the door, you must first set
the washing machine to PAUSE by pressing the
START/PAUSE button. After you have closed the
door, press the START/PAUSE button again.
The delay start cannot be selected with
programmes (drain) and (spin).
3 “PREWASH” button
The machine performs a prewash cycle at 30°C max.
The prewash cycle ends with a short spin at 650 r.p.m.
in programmes for Cotton and Synthetics, and with
emptying of the water for Delicates.
This option is not available with the wool or handwash
programmes.
For use when washing heavily soiled laundry.
4 “QUICK WASH” button
This button allows you to select the Quick Wash
function, for laundry that is only slightly soiled (not
for wool, hand wash and economy programme
60E).
The washing time will be reduced according to the
type of fabric and the selected temperature.
Max. load for cotton 3 kg.
5 “EXTRA RINSE” button
The EXTRA RINSE option can be selected with all
programmes except the wool and handwash
programme. The machine will perform 2 additional
rinses.
To be used in areas where the water is very soft or
for people allergic to detergents or who have very
delicate skin.
6 “START /PAUSE” button
After having selected the required programme, press
this button to start the machine; the corresponding
pilot light stops flashing and remains lit.
To interrupt a programme which is running, depress
the Start/Pause button: the corresponding pilot light
starts to flash.
To restart the programme from the point at which it
was interrupted, press the START/PAUSE button
again.
EWF 830
8 H
4 H
ELECTRONIC
1 2 3 4 5 6 7 8 9
Control panel
132990710 GB.qxd 02/03/2004 11:42 Pagina 10 (Nero/Process Black pellicola)

Related product manuals