EasyManua.ls Logo

Electrolux EWF8024P5WB - Options Setting

Electrolux EWF8024P5WB
80 pages
Print Icon
To Next Page IconTo Next Page
To Next Page IconTo Next Page
To Previous Page IconTo Previous Page
To Previous Page IconTo Previous Page
Loading...
18 www.electrolux.vn
18 www.electrolux.co.th
Measure out the amount of
detergent required, pour it into the
main wash compartment .
Do not use gelatinous or thick
liquid detergents.
Do not put more liquid than the
maximum level.
Do not set the “Delay End”.
Do not set the “Prewash” phase.
NOTE: When you use the
liquid detergent
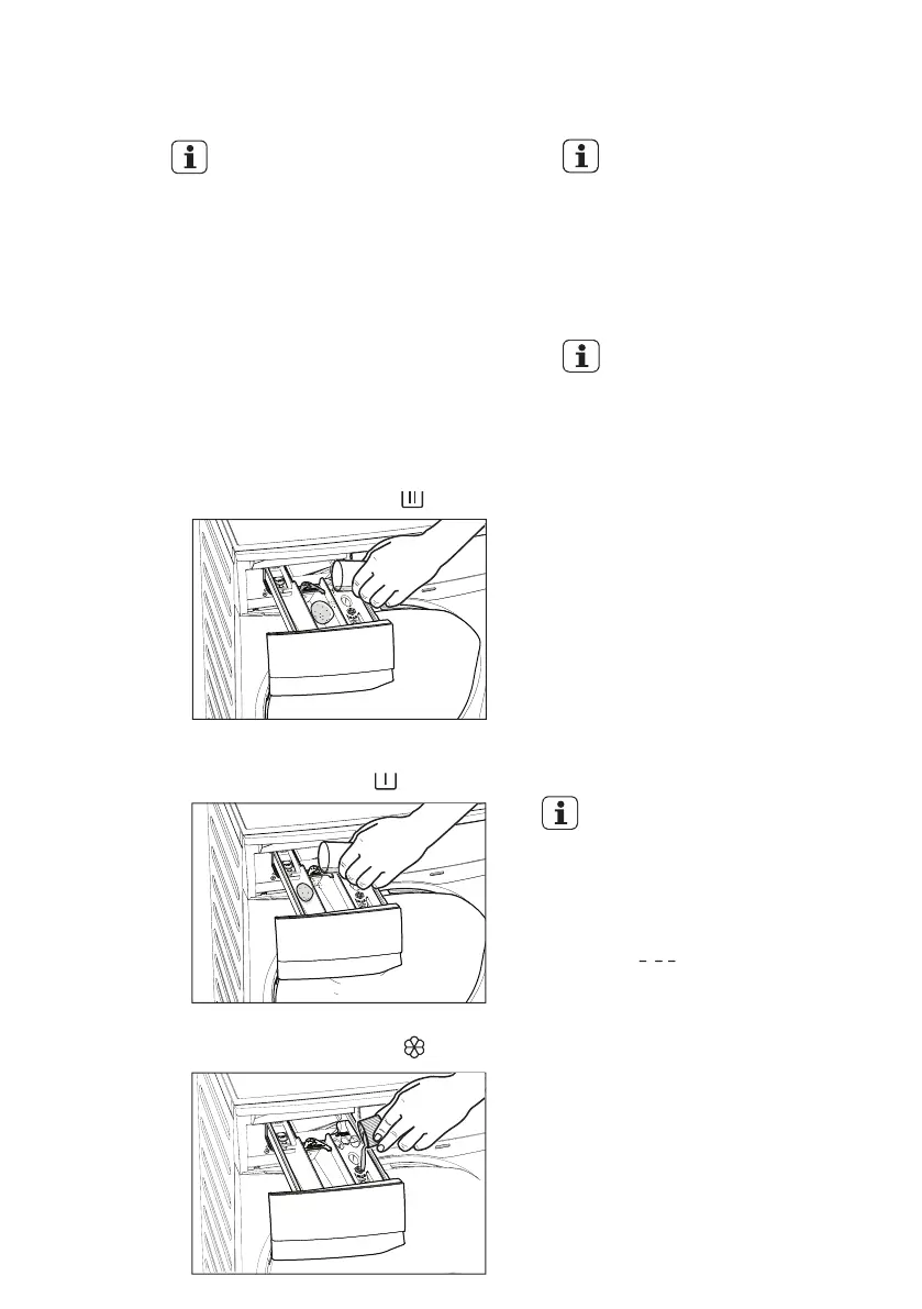
Pull out the dispenser drawer until
it stops.
-
-
-
-
-
-
Measure out the detergent and the
fabric softener;
2.
If you wish to carry out the
“Prewash” phase, pour it into the
compartment marked .
If required, pour fabric softener into
the compartment marked .
-
Close the drawer gently.
-
-
Residues of detergent, softener
and water may remain in the
dispenser. It is recommended to
clean the dispenser regularly to
remove any residue.
The softener amount used must
not exceed the “MAX” mark in the
drawer.
If you use thick softeners it is
recommended to dilute with water.
If you want your laundry to be spun or
use temperature different from the one
proposed by the washing machine,
pess “Spin” and “Temp” touchpads
repeatedly to change the spin speed
and temperature.
Press the option touchpads, if you
want your laundry to be washed with
special functions.
Different functions can be
combined which is dependent on
the program selected.
If an option is not compatible with
the wash program selected, the
symbol “ ” will flash on display
along with buzzer sound.
If you want to adjust washing time,
press the “Time Manager” touchpad
repeatedly to increase or decrease
washing time. (See Time Manager
guide on page 13)
If you want to define the end of the
washing program, press the “Delay
End” touchpad repeatedly to choose
your washing machine working time.
5.3 Options Setting
-
-
1.
2.
NOTE
NOTE
NOTE

Table of Contents

Related product manuals