EasyManua.ls Logo

Electrolux EWL1AX - Product Description; Use

Electrolux EWL1AX
28 pages
Print Icon
To Next Page IconTo Next Page
To Next Page IconTo Next Page
To Previous Page IconTo Previous Page
To Previous Page IconTo Previous Page
Loading...
6
www.electrolux.com
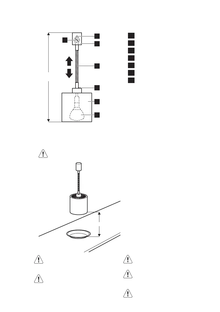
3. PRODUCT DESCRIPTION
7
6
4
5
1
2
Installing hole
Cover plate
1
2
3
3
Slip wire
4
Power switch
5
Lampshade
6
Heating lamp
7
Tensionregulating
4. USE
min. 980
max.1980
WARNING!
Refer to the Safety chapters.
Put the plate with the food to keep warm
underneath the lamp.
Lower down the lamp till 40 cm above
the plate and switch on the lamp.
This distance from the plate will ensure
to keep food warm.
For lower temperatures just rise up the
warming lamp to your needs.
For gentle Defrost rise up the lamp to 70
cm from the plate.
Always ensure during the use
that the worktop is protected from
direct contact with the light of the
lamp (i.e. ceramic dish, etc...)
Lamp must be used only above
the food for a max period of 10/15
minutes to avoid the risk to
overdry the food.
Do not position the lamp less
than 30 cm above the plate. Risk
to overcook the food.
Do not position the lamp less
than 30 cm above the working
top.
Risk to damage the worktop.
Do not leave the lamp unattended
when On.
40 cm