EasyManua.ls Logo

Electrolux EWW8024D3WB - Options Setting

Electrolux EWW8024D3WB
44 pages
Print Icon
To Next Page IconTo Next Page
To Next Page IconTo Next Page
To Previous Page IconTo Previous Page
To Previous Page IconTo Previous Page
Loading...
ENGLISH 19
DAILY USE - WASHING (Only)5.
Check and remove objects (if there
are any) that could be trapped in the
fold.
1.
2.
5.1 Loading The Laundry
Connect the main plug to the main
socket.
Turn the water tap on.
3.
Place the laundry in the drum, one
item at a time, shaking them out as
much as possible. (Refer to page 24
“WASHING HINTS”)
5.
Close the door.
6.
4.
Make sure that no laundry
remains between the seal and
the door.
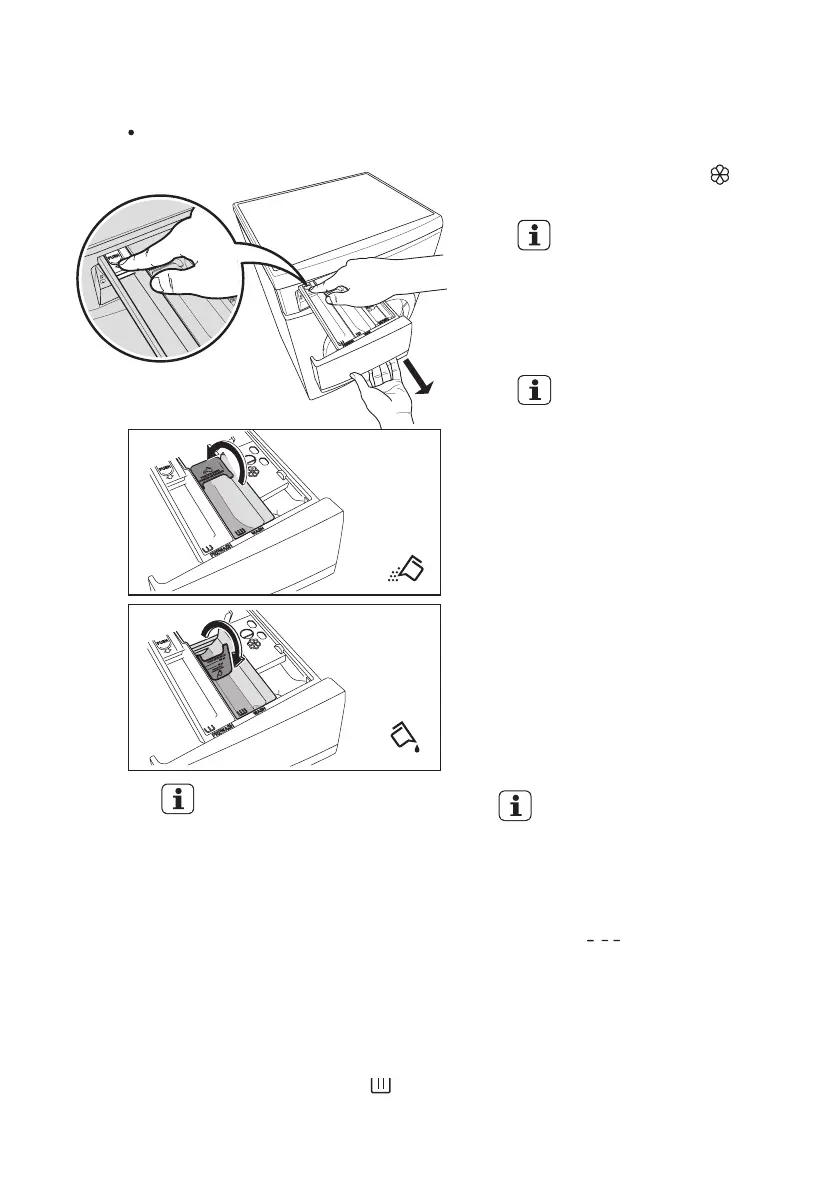
Detergent Dispenser Drawer
1.
The detergent dispenser is divided
into three compartments.
Please read “Detergents Type
and Quantity of Detergent”on
page 25 before use.
5.2 Using Detergent And
Additives
Compartment “Main Wash”
This compartment is used for
detergent on all programs.
Compartment for “Soak”
This compartment is only used for
detergent when a “Soak ” option
is selected.
Detergent
flap
Compartment
for
Soak
Main Wash
Compartment
Softener
Compartment
Turn the knob to set a program. The
washing machine will propose a
temperature and automatically select
the spin value provided for the
program you have chosen.
The selector knob can be turned either
clockwise or anticlockwise.
Position “Off” to reset program/
switching OFF the machine.
At the end of the program the selector
dial must be turned to position “Off”, to
switch the machine off.
Measure out the amount of
detergent required, pour it into the
main wash compartment .
Do not use gelatinous or thick
liquid detergents.
Do not put more liquid than the
maximum level.
Do not set the “Delay Start”.
When you use the liquid
detergent
Pull out the dispenser drawer until
it stops.
-
-
-
-
-
Measure out the detergent and the
fabric softener;
2.
Close the drawer gently.
-
Residues of detergent, softener
and water may remain in the
dispenser. It is recommended to
clean the dispenser regularly to
remove any residue.
The softener amount used must
not exceed the “MAX” mark in the
drawer.
If you use thick softeners it is
recommended to dilute with water.
If you want your laundry to be spun or
use temperature different from the one
proposed by the Washer-Dryer, press
“Spin” and “Temp” touchpads
repeatedly to change the spin speed
and temperature.
Press the option touchpads, if you
want your laundry to be washed with
special functions.
Different functions can be
combined which is dependent on
the program selected.
If an option is not compatible with
the wash program selected, the
symbol “ ” will flash on display
along with buzzer sound.
If you want to delay the start of the
washing program, press the
“Delay Start” touchpad repeatedly to
choose your Washer-Dryer delay
time.
5.3 Options Setting
1.
2.
NOTE
NOTE
NOTE
If required, pour fabric softener into
the compartment marked .
-
Detergent flap
Flap for powder or liquid detergent.
Position up:
for powder
detergent
(factory
setting).
Position
down:
for liquid
detergent.

Table of Contents

Related product manuals