EasyManua.ls Logo

Electrolux FI22/10FA - Page 11

Electrolux FI22/10FA
16 pages
Print Icon
To Next Page IconTo Next Page
To Next Page IconTo Next Page
To Previous Page IconTo Previous Page
To Previous Page IconTo Previous Page
Loading...
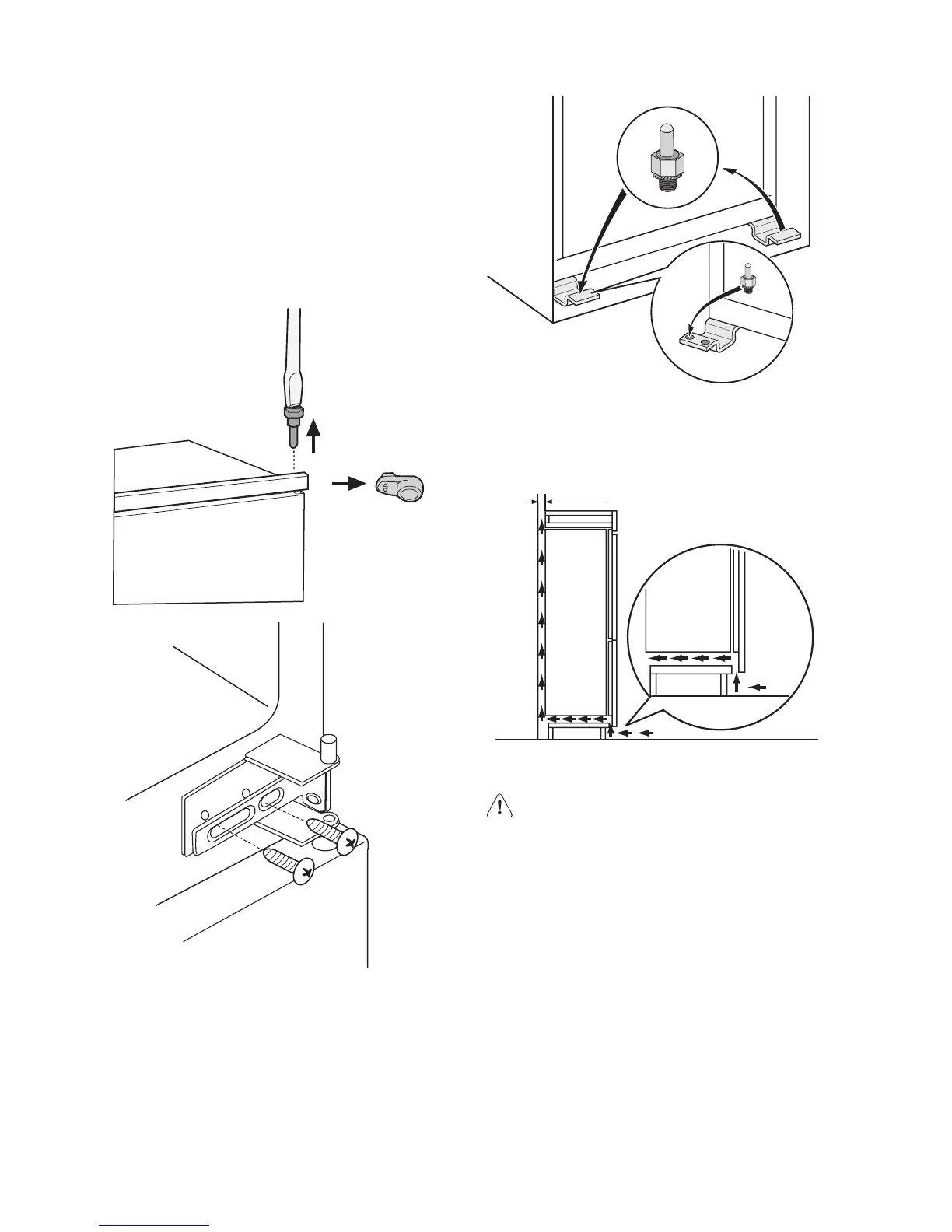
Door reversibility
The door of the appliance opens to the right.
If you want to open the door to the left, do
these steps before you install the appliance:
1. Loosen and remove the upper pin.
2. Remove the upper door.
3. Remove the spacer.
4. Loosen the middle hinge.
5. Remove the lower door.
6. Loosen and remove the lower pin.
On the opposite side:
1. Tighten the lower pin.
2. Install the lower door.
3. Tighten the middle hinge.
4. Install the spacer.
5. Install the upper door.
6. Tighten the upper pin.
Ventilation requirements
The airflow behind the appliance must be
sufficient.
min.
200 cm
2
50 - min. 200 cm
2
Installing the appliance
Caution! Make sure that the mains
cable can move freely.
Do these steps.
1. Install the appliance in the niche.
Push the appliance in the direction of the
arrows (1) until the upper gap cover
stops against the kitchen furniture. Make
sure that the distance between the ap-
pliance and the cupboard front-edge is
44 mm.
Push the appliance in the direction of the
arrows (2) against the cupboard on the
opposite side of the hinge. Make sure
that the clearance between the appli-
ance and the cupboard is 4 mm.
electrolux 11

Related product manuals