EasyManua.ls Logo

Electrolux GA554IF - Electrical Connection; Environment Concerns

Electrolux GA554IF
Print Icon
To Next Page IconTo Next Page
To Next Page IconTo Next Page
To Previous Page IconTo Previous Page
To Previous Page IconTo Previous Page
Loading...
N 762+3105N 600
G 57020
G 759
70
100 180
550
G 546
N 550
50
400
max. 700
600
DD
WKE
A
CC
BB
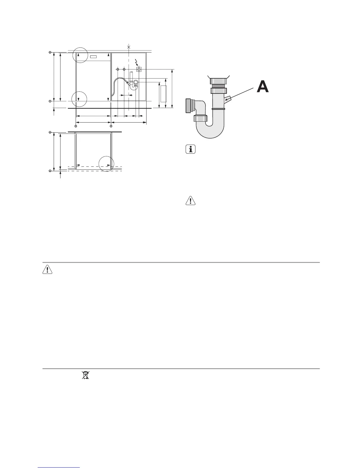
A - drain outlet
E - socket
G - dimension of the appliance
K - cold water supply
N - dimension of the recess
W - hot water supply
If you connect the water drain hose to a trap
spigot under the sink, remove the plastic
membrane (A). If you do not remove the
membrane, remaining food can cause a
blockage in the drain hose spigot
The appliance has a security feature to
prevent that dirty water goes back into
the appliance. If, the spigot of the sink
has a 'non-return valve', this valve can
cause the appliance to drain incorrectly.
Remove the non-return valve.
Caution! Make sure that the water
couplings are tight to prevent water
leakage.
Electrical connection
Warning! The manufacturer is not
responsible if you do not follow these
safety precautions.
This appliance needs to be earthed ac-
cording to safety precautions.
Make sure that the rated voltage and
type of power on the rating plate agree
with the voltage and the power of the lo-
cal power supply.
Always use a correctly installed shock-
proof socket.
Do not use multi-way plugs, connectors
and extension cables. There is a risk of
fire.
Do not replace the mains cable yourself.
Contact the Service Force Centre.
Make sure that the mains plug is acces-
sible after installation.
Do not pull the mains cable to discon-
nect the appliance. Always pull the
mains plug.
Environment concerns
The symbol on the product or on its
packaging indicates that this product may
not be treated as household waste. Instead
it should be taken to the appropriate
collection point for the recycling of electrical
and electronic equipment. By ensuring this
product is disposed of correctly, you will help
prevent potential negative consequences for
the environment and human health, which
could otherwise be caused by inappropriate
waste handling of this product. For more
detailed information about recycling of this
product, please contact your local council,
your household waste disposal service or the
shop where you purchased the product.
The packaging materials are environmentally
friendly and can be recycled. The plastic
components are identified by markings, e.g.
electrolux 41

Related product manuals