EasyManua.ls Logo

Electrolux GA55GLV - Product Description

Electrolux GA55GLV
60 pages
Print Icon
To Next Page IconTo Next Page
To Next Page IconTo Next Page
To Previous Page IconTo Previous Page
To Previous Page IconTo Previous Page
Loading...
parts related to door assemblies,
printed circuit boards, electronic
displays, pressure switches,
thermostats and sensors, software
and firmware including reset software.
Please note that some of these spare
parts are only available to
professional repairers, and that not all
spare parts are relevant for all
models.
The following spare parts will be
available for 10 years after the model
has been discontinued: door hinge
and seals, other seals, spray arms,
drain filters, interior racks and plastic
peripherals such as baskets and lids.
2.7 Disposal
WARNING!
Risk of injury or suffocation.
Disconnect the appliance from the
mains supply.
Cut off the mains cable and discard it.
Remove the door catch to prevent
children and pets to get closed in the
appliance.
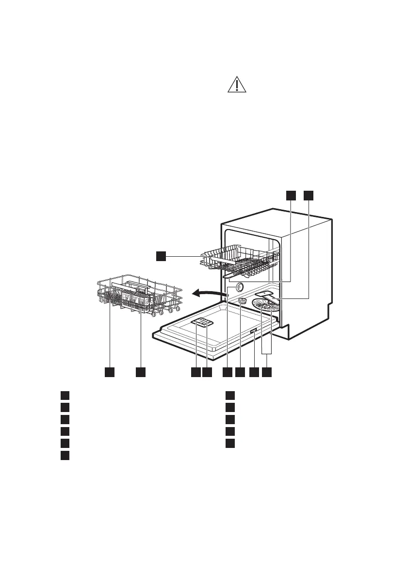
3. PRODUCT DESCRIPTION
4
3
56
8
7
11
1
2
10 9
1
Upper spray arm
2
Lower spray arm
3
Filters
4
Rating plate
5
Salt container
6
Air vent
7
Rinse aid dispenser
8
Detergent dispenser
9
Cutlery basket
10
Lower basket
11
Upper basket
3.1 Internal light
The appliance has an internal lamp. It
comes on when you open the door or
switch the appliance on while the door is
open.
The lamp goes off when you close the
door or switch the appliance off.
Otherwise, it goes off automatically after
some time to save energy.
www.electrolux.com6

Related product manuals