EasyManua.ls Logo

Electrolux GA55LIWE - Control Panel Overview

Electrolux GA55LIWE
56 pages
Print Icon
To Next Page IconTo Next Page
To Next Page IconTo Next Page
To Previous Page IconTo Previous Page
To Previous Page IconTo Previous Page
Loading...
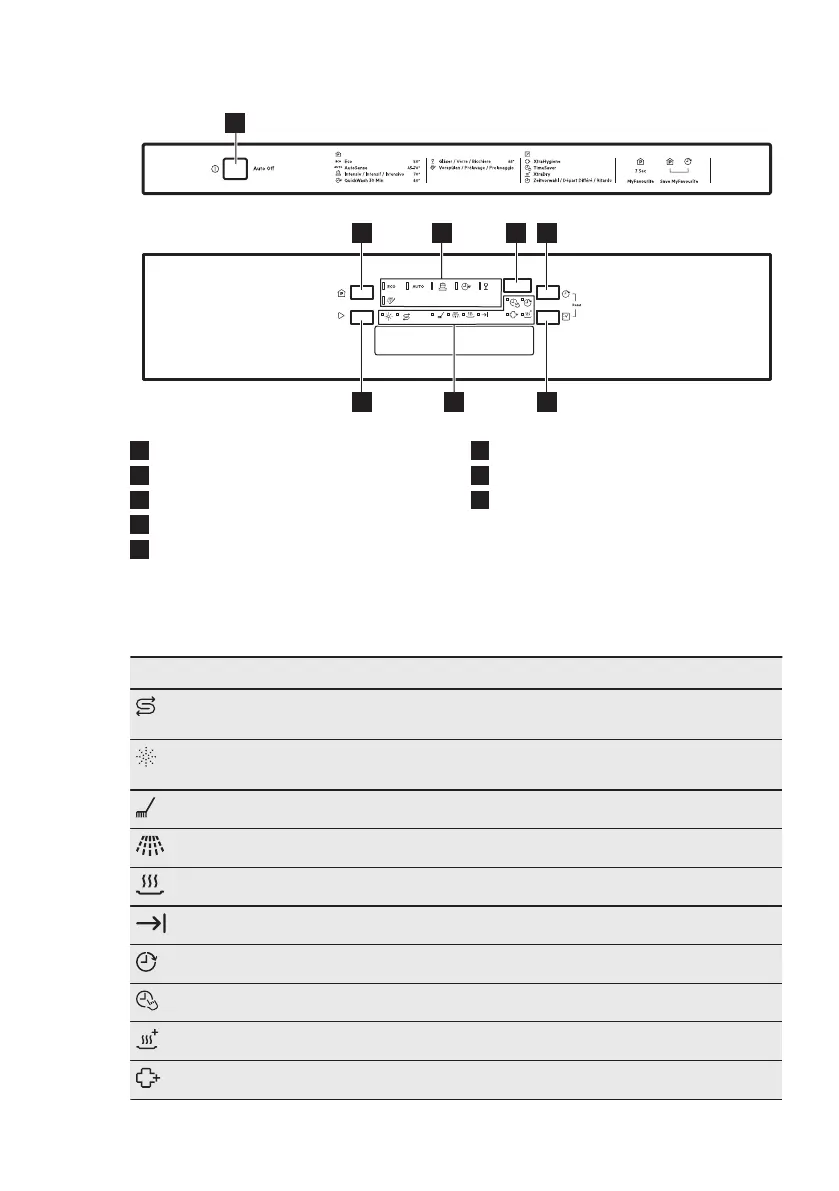
4. CONTROL PANEL
1
2 4
68
3
7
5
1
On/off button
2
Program button
3
Programme indicators
4
Display
5
Zeitvorwahl / Départ Différé /
Ritardo button
6
Option button
7
Indicators
8
Start button
4.1 Indicators
Indicator Description
Salt indicator. It is on when the salt container needs refilling. It is al‐
ways off while the programme operates.
Rinse aid indicator. It is on when the rinse aid dispenser needs refill‐
ing. It is always off while the programme operates.
Washing phase indicator. It is on when the washing phase operates.
Rinsing phase indicator. It is on when the rinsing phase operates.
Drying phase indicator. It is on when the drying phase operates.
End indicator. It is on when the programme is completed.
Zeitvorwahl / Départ Différé / Ritardo indicator.
TimeSaver indicator.
XtraDry indicator.
XtraHygiene indicator.
ENGLISH 7

Related product manuals