EasyManua.ls Logo

Electrolux GA55LV - Produktbeschreibung

Electrolux GA55LV
60 pages
Print Icon
To Next Page IconTo Next Page
To Next Page IconTo Next Page
To Previous Page IconTo Previous Page
To Previous Page IconTo Previous Page
Loading...
Entfernen Sie das Türschloss, um zu
verhindern, dass sich Kinder oder
Haustiere in dem Gerät einschließen.
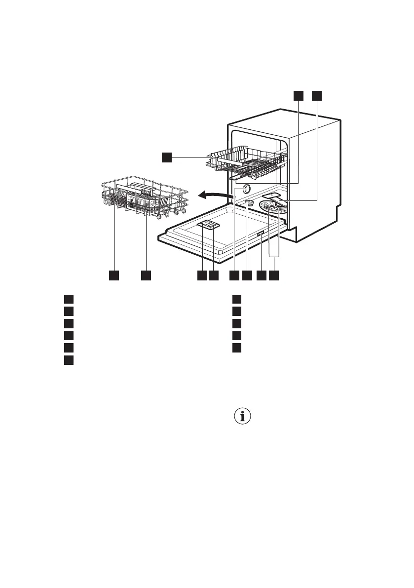
3. PRODUKTBESCHREIBUNG
4
3
56
8
7
11
1
2
10 9
1
Oberer Sprüharm
2
Unterer Sprüharm
3
Siebe
4
Typenschild
5
Salzbehälter
6
Entlüftung
7
Klarspülmittel-Dosierer
8
Reinigungsmittel-Spender
9
Besteckkorb
10
Unterer Korb
11
Oberer Korb
3.1 Beam-on-Floor
Der Beam-on-Floor ist ein Lichtstrahl, der
unterhalb der Gerätetür auf den Boden
projiziert wird.
Am Programmstart leuchtet eine rotes
Licht. Es leuchtet während der
gesamten Dauer des Spülprogramms.
Am Programmende leuchtet ein
grünes Licht.
Das rote Licht blinkt im Fall einer
Gerätestörung.
Nach dem Abschalten des
Gerätes erlischt der Beam-
on-Floor.
DEUTSCH 33

Related product manuals