EasyManua.ls Logo

Electrolux ICON E24CM75GSS - Boiler Assembly

Electrolux ICON E24CM75GSS
82 pages
Print Icon
To Next Page IconTo Next Page
To Next Page IconTo Next Page
To Previous Page IconTo Previous Page
To Previous Page IconTo Previous Page
Loading...
5-6
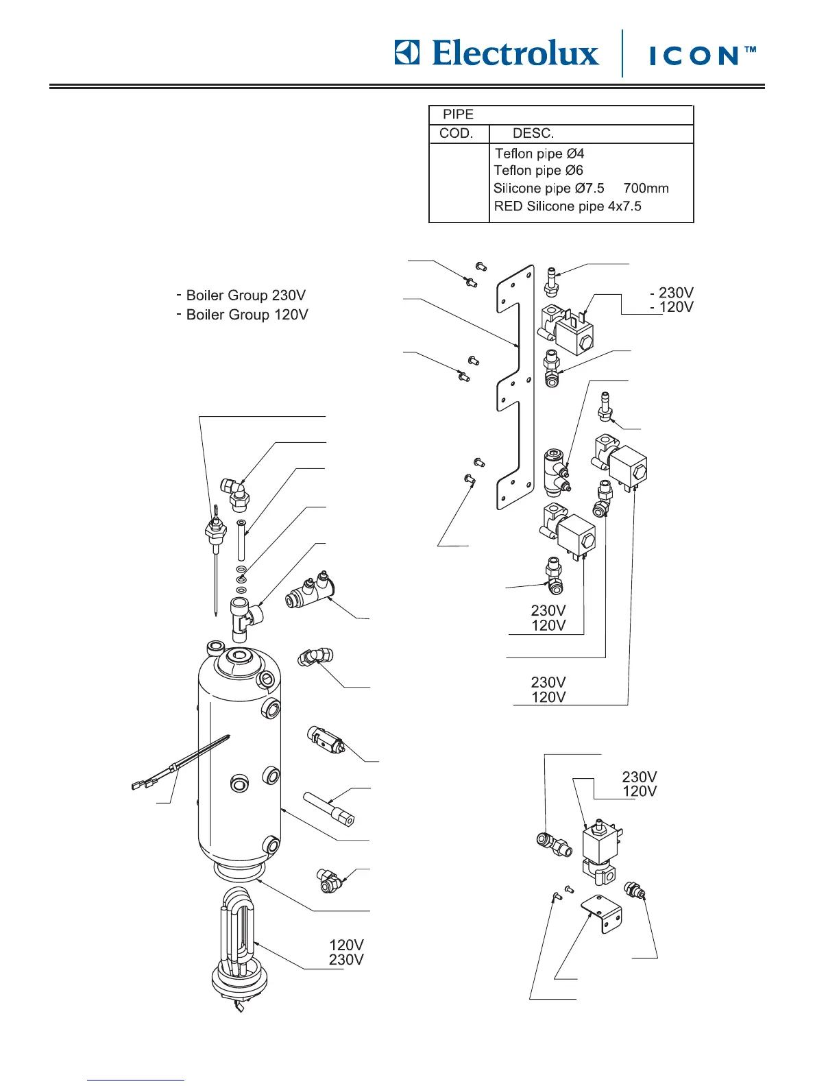
PPaarrttss LLiisstt
1
2-
3
4
5
6
7
8
9
10
11
12
13
14
15
16
17-
18-
19-
20-
21
22
23
24
25
26
27
28
29
30
31
-
4
4
4
4
17-
18-
12
12
4
6
14
28
BBooiilleerr AAsssseemmbbllyy

Other manuals for Electrolux ICON E24CM75GSS

Related product manuals