EasyManua.ls Logo

Electrolux ICON E32AF75FPS0 - Page 11

Electrolux ICON E32AF75FPS0
16 pages
Print Icon
To Next Page IconTo Next Page
To Next Page IconTo Next Page
To Previous Page IconTo Previous Page
To Previous Page IconTo Previous Page
Loading...
Publication No: 5995479135 E32AR75FPS0
04/07 2
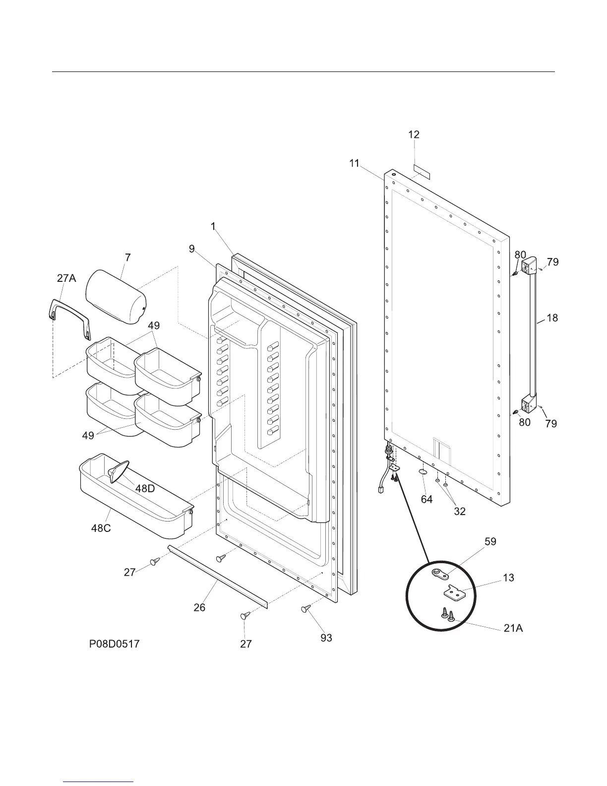
DOOR

Related product manuals