EasyManua.ls Logo

Electrolux IK283SAL - Control Panel

Electrolux IK283SAL
48 pages
Print Icon
To Next Page IconTo Next Page
To Next Page IconTo Next Page
To Previous Page IconTo Previous Page
To Previous Page IconTo Previous Page
Loading...
This appliance is intended to be used at
ambient temperature ranging from 10°C
to 43°C.
The correct operation of the
appliance can only be
guaranteed within the
specified temperature range.
If you have any doubts
regarding where to install the
appliance, please turn to the
vendor, to our customer
service or to the nearest
Authorised Service Centre.
It must be possible to
disconnect the appliance
from the mains power
supply. The plug must
therefore be easily
accessible after installation.
3.3 Electrical connection
Before plugging in, ensure that the
voltage and frequency shown on the
rating plate correspond to your
domestic power supply.
The appliance must be earthed. The
power supply cable plug is provided
with a contact for this purpose. If the
domestic power supply socket is not
earthed, connect the appliance to a
separate earth in compliance with
current regulations, consulting a
qualified electrician.
The manufacturer declines all
responsibility if the above safety
precautions are not observed.
This appliance complies with the
E.E.C. Directives.
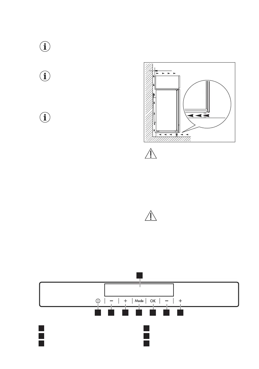
3.4 Ventilation requirements
The airflow behind the appliance must be
sufficient.
5 cm
min.
200 cm
2
min.
200 cm
2
CAUTION!
Refer to the installation
instructions for the
installation.
3.5 Door reversibility
Please refer to the separate document
with instructions on installation and door
reversal.
CAUTION!
At every stage of reversing
the door protect the floor
from scratching with a
durable material.
4. CONTROL PANEL
5
1
678 4 3 2
1
Display
2
Freezer Temperature warmer button
3
Freezer Temperature colder button
4
OK
5
Mode
6
Fridge Temperature warmer button
www.electrolux.com8

Related product manuals