EasyManua.ls Logo

Electrolux IK327SAR - Control Panel

Electrolux IK327SAR
52 pages
Print Icon
To Next Page IconTo Next Page
To Next Page IconTo Next Page
To Previous Page IconTo Previous Page
To Previous Page IconTo Previous Page
Loading...
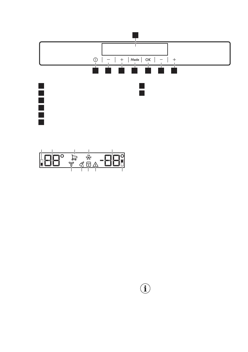
4. CONTROL PANEL
5
1
678 4 3 2
1
Display
2
Freezer Temperature warmer button
3
Freezer Temperature colder button
4
OK
5
Mode
6
Fridge Temperature warmer button
7
Fridge Temperature colder button
8
ON/OFF
It is possible to change predefined sound
of buttons by pressing together Mode
and temperature colder button for a few
seconds. Change is reversible.
4.1 Display
min
A B C D E
G FHIJ
A. Fridge compartment indicator
B. Timer indicator
/Temperature indicator
C. FastCool function
D. FastFreeze function
E. Temperature indicator
F. Freezer compartment indicator
G. Alarm indicator
H. ChildLock function
I. DrinksChill function
J. DYNAMICAIR function
4.2 Switching on
1. Connect the mains plug to the power
socket.
2. Press the appliance ON/OFF if the
display is off. The temperature
indicators show the set default
temperature.
To select a different set temperature
refer to "Temperature regulation".
If "dEMo" appears on the display, refer to
"Troubleshooting" .
4.3 Switching off
1. Press the appliance ON/OFF for 3
seconds.
The display switches off.
2. Disconnect the mains plug from the
power socket.
4.4 Temperature regulation
Set the temperature of the appliance by
pressing the temperature regulators.
Recommended set temperature is:
+4°C for the fridge
-18°C for the freezer
The temperature range may vary
between -16°C and -22°C for freezer and
between 2°C and 8°C for fridge.
The temperature indicators show the set
temperature.
The set temperature will be
reached within 24 hours.
After a power failure the set
temperature remains stored.
ENGLISH 9

Related product manuals