EasyManua.ls Logo

Electrolux KNT2FF18T - Uso Diario

Electrolux KNT2FF18T
64 pages
Print Icon
To Next Page IconTo Next Page
To Next Page IconTo Next Page
To Previous Page IconTo Previous Page
To Previous Page IconTo Previous Page
Loading...
calienten los alimentos ya almacenados
en el compartimento congelador.
Para congelar alimentos
frescos, active la función
FastFreeze al menos 24
horas antes de introducir los
alimentos para completar la
precongelación.
Para activar la función FastFreeze, pulse
el botón FastFreeze. Se enciende el
indicador FastFreeze.
La función se detiene
automáticamente después
de 52 horas.
La función se puede desactivar en
cualquier momento pulsando de nuevo el
botón FastFreeze. Se apaga el indicador
FastFreeze.
4.5 Alarma de puerta abierta
Si la puerta del frigorífico se deja abierta
durante aproximadamente 5 minutos, el
sonido se activa.
Durante la alarma, el sonido se puede
desactivar pulsando cualquier botón. El
sonido se apaga automáticamente
después de aproximadamente una hora
para evitar molestias.
La alarma se desactiva después de
cerrar la puerta.
5. USO DIARIO
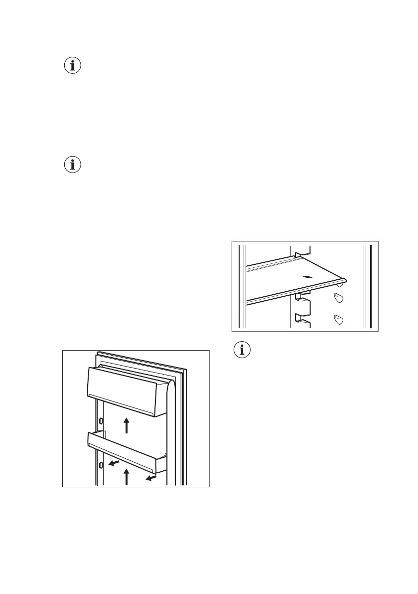
5.1 Colocación de los estantes
de la puerta
Para poder guardar alimentos de
distintos tamaños, los estantes de la
puerta se pueden colocar a diferentes
alturas.
1. Tire gradualmente del estante hacia
arriba hasta que se suelte.
2. Vuelva a colocarlo según sea
necesario.
1
2
5.2 Estantes móviles
Las paredes del frigorífico cuentan con
una serie de guías para colocar los
estantes del modo que se prefiera.
No coloque el estante de
vidrio por encima del cajón
de verduras para no impedir
la correcta circulación del
aire.
5.3 Cajones para verduras
En la parte inferior del aparato hay unos
cajones especiales para guardar frutas y
verduras.
5.4 Indicador de temperatura
Para almacenar correctamente los
alimentos, el frigorífico dispone de
indicador de temperatura. El símbolo de
la pared lateral indica el área más fría
del frigorífico.
Si aparece OK (A), coloque los alimentos
frescos en el área indicada por el
símbolo, si no (B), espere al menos 12
horas y compruebe si aparece OK (A).
www.electrolux.com50

Related product manuals