EasyManua.ls Logo

Electrolux LFG517X - Page 10

Electrolux LFG517X
148 pages
Print Icon
To Next Page IconTo Next Page
To Next Page IconTo Next Page
To Previous Page IconTo Previous Page
To Previous Page IconTo Previous Page
Loading...
10 www.electrolux.com
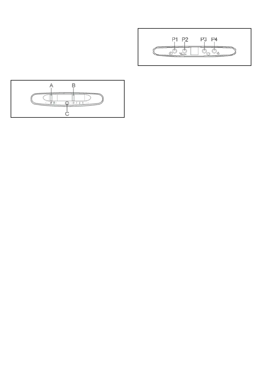
4. BEDIENELEMENTE
Modelle LFG525S, LFG525W, LFG525K:
A-Umschalter: LICHT: Stellung 0: Licht aus;
Stellung 1: Licht ein.
B-Umschalter: MOTORGESCHINDIGKEIT:
ermöglicht die Geschwindigkeitsauswahl des
Motorbetriebs; Stellung 0: Motor ausgeschal-
tet.
C: Der Motor leuchtet.
Modelle LFG517X, LFG615X, LFG615W:
P1-Taste: Umschalter Die erste Motorge-
schwindigkeit Ein/Aus.
P2-Taste (Modelle LFG615X, LFG615W):
Motorgeschwindigkeit ändern (1-2-3-P-1-
2-3-P….). Bei der vierten Geschwindigkeit
leuchtet der Buchstabe “P“ auf der Anzeige
(Beschleuniger). Die vierte Geschwindigkeit
bleibt 5 Minuten lang aktiv, dann geht auf die
dritte zurück.
P2-Taste (Model LFG517X): Motorgeschwin-
digkeit ändern (1-2-3-4-1-2-3-4….).
P3-Taste: Minutenzeiger. Aktivieren und
deaktivieren den Minutenzeiger (5 Minuten).
Ist der Minutenzeiger aktiv, blinkt die der
Geschwindigkeit entsprechende Zahl.
P4-Taste: Lichter. Schaltet die Lichter ein/
aus.
P1- + P4-Taste: Filteralarm zurücksetzen.
Zeigt die Anzeige den blinkenden Buch-
staben „F“ an, sind dann die Fett lter (40
Stunden des Betriebs) zu reinigen. Zeigt die
Anzeige den blinkenden Buchstaben „C“ an,
sind dann die Holzkohle lter (160 Stunden
des Betriebs) zu wechseln und die Fett lter
zu reinigen.
Natürlich, wenn die Haube kein Filtermodell
ist und wenn sie keine Holzkohle lter hat,
sind die Fett lter zu reinigen, wenn sowohl
der Buchstabe “F” als auch “C“ angezeigt
wird. Der Filteralarm ist sichtbar, wenn der
Motor ausgeschaltet ist und zirka 30 Sekun-
den lang. Um den Stundenzähler ZURÜCKZ-
USETZEN, sind die Tasten P1 und P4 glei-
chzeitig 2 Sekunden lang beim angezeigten
Alarm zu drücken.
5. BELEUCHTUNG
Wurde der Scheinwerfer beschädigt, kann
er ausschließlich durch den Hersteller, sein
Servicedienst bzw. eine Person mit gleichen
Quali kationen gewechselt werden, um die
Gefahr zu vermeiden.

Other manuals for Electrolux LFG517X

Related product manuals