EasyManua.ls Logo

Electrolux LFG517X - Page 15

Electrolux LFG517X
148 pages
Print Icon
To Next Page IconTo Next Page
To Next Page IconTo Next Page
To Previous Page IconTo Previous Page
To Previous Page IconTo Previous Page
Loading...
15FRANÇAIS
4. COMMANDES
Modèles LFG525S, LFG525W, LFG525K:
Commutateur A: LUMIÈRE; position 0: lu-
mière éteinte; position 1: lumière allumée.
Interrupteur B: RÉGIME MOTEUR: permet de
sélectionner la vitesse du moteur; position 0:
moteur éteint.
C: Le moteur est allumé.
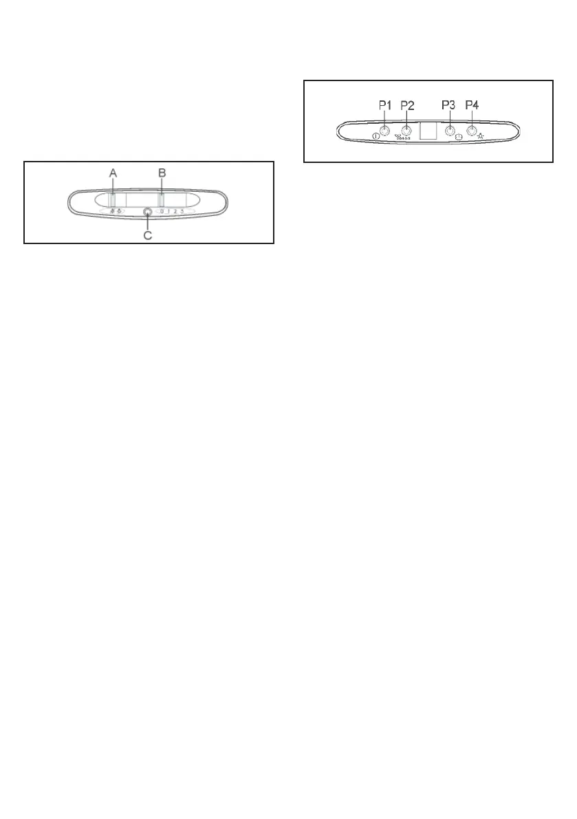
Modèles LFG517X, LFG615X, LFG615W:
Bouton P1: commutateur Allumer/Eteindre
premier régime moteur.
Bouton P2 (Modèles LFG615X, LFG615W):
Modi er la vitesse du moteur (1-2-3-P-1-2-
3-P....). A la quatrième vitesse, la lettre « P
» s’allume sur l’af cheur (Accélérateur). La
quatrième vitesse reste active pendant 5
minutes puis redescend à la troisième.
Bouton P2 (Modèle LFG517X): Modi er la
vitesse du moteur (1-2-3-4-1-2-3-4 ....).
Bouton P3: Minuterie. Activer et désactiver
la minuterie (5 minutes). Si la minuterie est
active, le numéro correspondant à la vitesse
clignote.
Bouton P4: Lumières. Allume/éteint les
lumières.
Bouton P1 + P4: Réinitialise l’alarme du ltre.
Lorsque l’af cheur af che un «F» clignotant,
vous devez nettoyer les ltres à graisse (40
heures de fonctionnement). Lorsque l’af -
cheur af che un «C» clignotant, vous devez
remplacer les ltres à charbon de bois (160
heures de fonctionnement) et nettoyer les
ltres à graisse.
Bien sûr, si la hotte n’est pas un modèle
ltrant et n’a pas de ltres à charbon de bois,
il faut nettoyer les ltres à graisse lorsque la
lettre «F» et la lettre «C» sont af chées. L’a-
larme du ltre est visible lorsque le moteur est
éteint et pendant 30 secondes environ. Pour
RÉINITIALISER le compteur des heures,
appuyez simultanément sur les boutons P1 et
P4 pendant 2 secondes pendant que l’alarme
est af chée.
5. ÉCLAIRAGE
Si le projecteur a été endommagé, il ne peut
être remplacé que par le fabricant, son tech-
nicien de maintenance ou une personne de
quali cation similaire a n d’éviter tout danger.

Other manuals for Electrolux LFG517X

Related product manuals