EasyManua.ls Logo

Electrolux LFG517X - Page 25

Electrolux LFG517X
148 pages
Print Icon
To Next Page IconTo Next Page
To Next Page IconTo Next Page
To Previous Page IconTo Previous Page
To Previous Page IconTo Previous Page
Loading...
25
ESPAÑOL
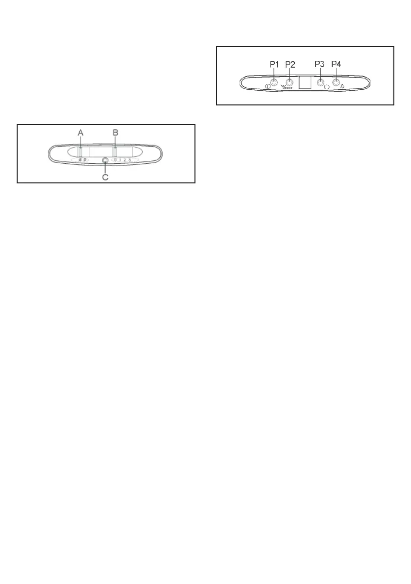
4. MANDOS
Modelos LFG525S, LFG525W, LFG525K:
Conmutador A: LUZ: posición 0: luz apagada;
posición 1: luz encendida
Conmutador B: VELOCIDAD DEL MOTOR:
hace posible elegir la velocidad del trabajo del
motor; posición 0: motor apagado
C: El motor encendido
Modelos LFG517X, LFG615X, LFG615W:
Botón P1: conmutador Enciende / Apaga la
primera velocidad del motor
Botón P2 (Modelos LFG615X, LFG615W):
cambia la velocidad del motor (1-2-3-P-1-2-3-
P….).Con la cuarta velocidad la letra “P” en
la pantalla se ilumina (Acelerador). La cuarta
velocidad sigue activa durante 5 minutos,
luego baja a la tercera.
Botón P2 (Modelo LFG517X): Cambia la velo-
cidad del motor (1-2-3-4-1-2-3-4….).
Botón P3: Temporizador. Activa y desactiva
el temporizador (5 minutos). Si el tempori-
zador esta activo, el numero de la velocidad
parpadea.
Botón P4: Luces. Enciende / apaga las luces
Botón P1 + P4: Reajustador del Alarma del
Filtro. Si en la pantalla parpadea la letra “F”,
hay que cambiar los ltros de grasa (40
horas de trabajo). Si en la pantalla parpadea
la letra “C”, hay que cambiar los ltros de
carbón (160 horas de trabajo) y limpiar los
ltros de grasa
Si la capucha no es un modelo ltrante y no
tiene ltros de carbón, hay que limpiar los
ltros de grasa tanto si aparece la letra “F”,
como la letra “C”. El alarma del ltro esta vi-
sible, cuando el motor esta apagado, durante
aproximadamente 30 segundos. Para RE-
AJUSTAR el contador de las horas, hay que
mantener presionados en el mismo tiempo los
5. ILUMINACIÓN
Si el faro esta dańado, puede ser reemplaza-
do solo por el fabricante, su servicio o por una
persona de cuali caciones similares, para
evitar peligro.
botones P1 y P4 durante 2 segundos cuando
se visualiza el alarma.

Other manuals for Electrolux LFG517X

Related product manuals