EasyManua.ls Logo

Electrolux LFG517X - Page 30

Electrolux LFG517X
148 pages
Print Icon
To Next Page IconTo Next Page
To Next Page IconTo Next Page
To Previous Page IconTo Previous Page
To Previous Page IconTo Previous Page
Loading...
30 www.electrolux.com
4. COMANDOS
Modelos LFG525S, LFG525W, LFG525K:
Interruptor A: LUZ; posição 0: luz desligada;
posição 1: luz ligada;
Interruptor B: VELOCIDADE DO MOTOR:
permite seleccionar a velocidade do motor;
posição 0: motor desligado.
C: A luz do motor acesa
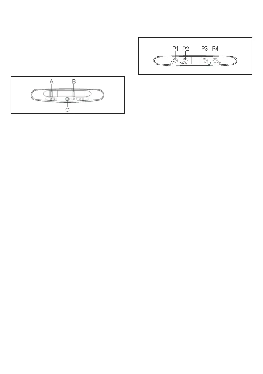
Modelos LFG517X, LFG615X, LFG615W:
Botão P1: interruptor Ligar / Desligar primeira
velocidade do motor.
Botão P2 (Models LFG615X, LFG615W):
Alterar a velocidade do motor (1-2-3-P-1-2-
3-P....). Na quarta velocidade, no visor, vem
em frente a letra “P” (Acelerador). A quarta
velocidade permanece activa por 5 minutos e,
depois, volta para a terceira velocidade.
Botão P2 (Modelo LFG517X): Alterar a veloci-
dade do motor (1-2-3-4-1-2-3-4....).
Botão P3: Temporizador. Activar e Desactivar
o Temporizador (5 minutos). Com o tempo-
rizador activado, pisca o número correspon-
dente à velocidade.
Botão P4: Luzes. Ligar / desligar as luzes.
Botão P1 + P4: Reinicialização do alarme do
ltro. Sempre que no visor aparece a letra
“F” a piscar, devem limpar-se os ltros de
gordura (40 horas de operação). Sempre que
no visor aparece a letra “C” a piscar, devem
substituir-se os ltros de carvão (160 horas
de operação), assim como, devem limpar-se
os ltros de gordura.
No caso do modelo não ltrante, o depurador
não possui ltros de carvão. Neste caso, ao
aparecerem no visor as letras “F” ou “C”, de-
vem limpar-se os ltros de gordura. O alarme
do ltro ca visível quando o motor está desli-
gado ainda por cerca de 30 segundos. Para
REINICIAR o contador de horas, os botões
5. ILUMINAÇÃO
No caso de dani cação do re ector, para
evitar o perigo, o mesmo deve ser substi-
tuído pelo fabricante, seu técnico de serviço
ou uma pessoa bem quali cada.
P1 e P4 devem ser pressionados simulta-
neamente durante 2 segundos enquanto o
alarme estiver sendo exibido.

Other manuals for Electrolux LFG517X

Related product manuals