EasyManua.ls Logo

Electrolux LFG525W - Page 20

Electrolux LFG525W
148 pages
Print Icon
To Next Page IconTo Next Page
To Next Page IconTo Next Page
To Previous Page IconTo Previous Page
To Previous Page IconTo Previous Page
Loading...
20 www.electrolux.com
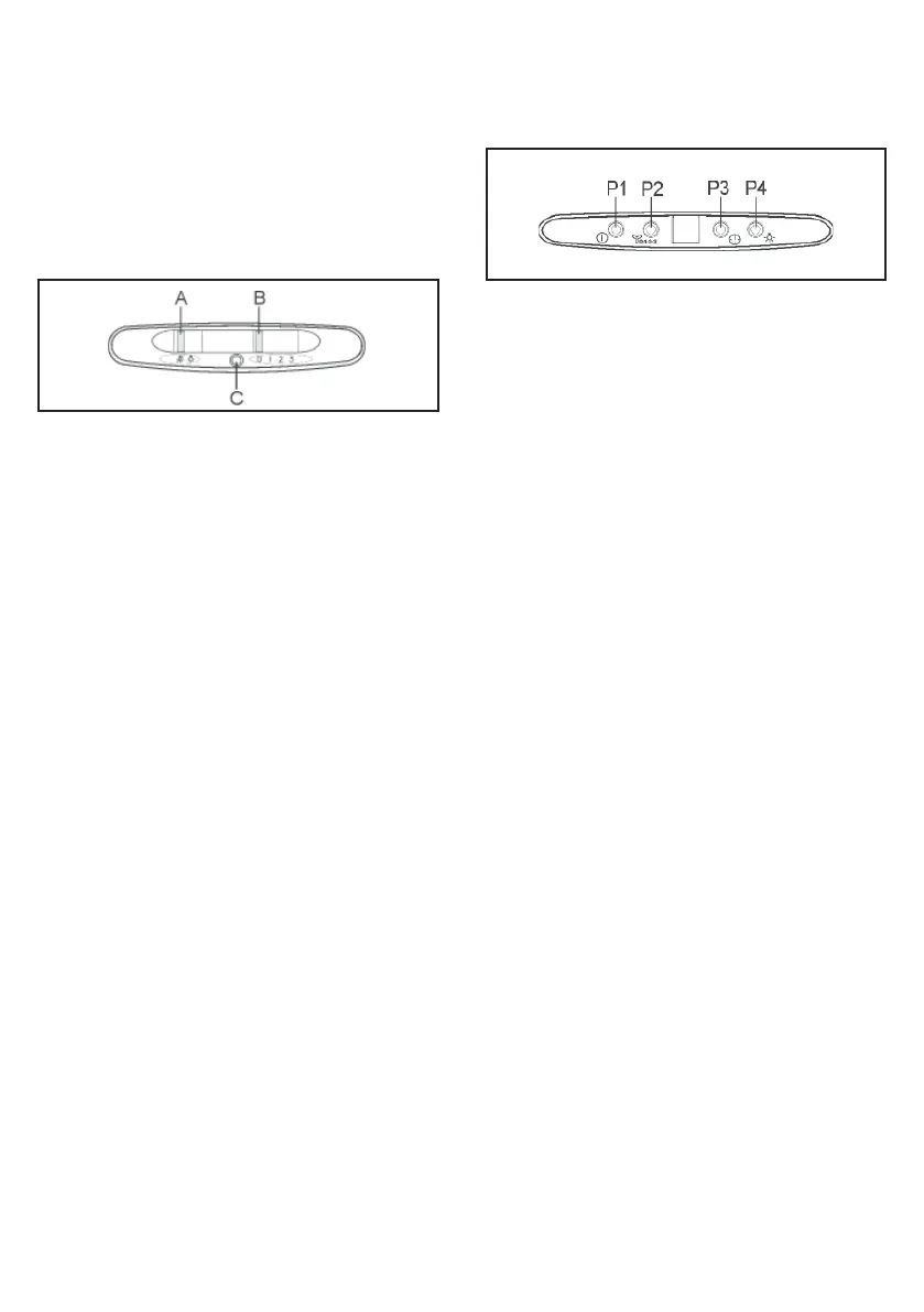
4. BEDIENINGEN
Modellen LFG525S, LFG525W, LFG525K:
Schakelaar A: VERLICHTING; stand 0: lam-
pje uit; stand 1: lampje aan.
Schakelaar B: MOTORSNELHEID: hiermee
is het mogelijk om de werkingssnelheden van
de motor te regelen; stand 0: motor staat stil.
C: Controlelampje dat aangeeft dat de motor
in werking is.
Modellen LFG517X, LFG615X, LFG615W:
Toets P1: eerste motorsnelheid AAN/UIT
schakelaar.
Toets P2 (Modellen LFG615X, LFG615W):
Motorsnelheid veranderen (1-2-3-P-1-2-
3-P….). Bij de 4de snelheid komt op de letter
“P” op het display (Boosterstand). De boo-
sterstand zal na 5 minuten automatisch naar
vermogensstand 3 terugschakelen.
Toets P2 (Model LFG517X): Motorsnelheid
veranderen (1-2-3-4-1-2-3-4….).
Toets P3: Timer. Timer inschakelen en
uitschakelen (5 minuten). Als de timer is inge-
schakeld, zal op het display het nummer van
de gekozen snelheid knipperen.
Toets P4: Verlichting Schakelt de verlichting
aan/uit.
Toets P1 + P4: Reset van het lteralarm. Als
het lteralarm verschijnt (d.w.z. als er een let-
ter “F” op het display begint te knipperen) dan
moeten de vet lters gereinigd worden (er zijn
40 werkingsuren verstreken). Als er een letter
“C” op het display begint te knipperen, dan
moeten de koolstof lters vervangen worden
(er zijn 120 werkingsuren verstreken).
Als de afzuigkap niet in de lterversie is en er
geen koolstof lters aanwezig zijn, dan moeten
alleen de vet lters worden gereinigd; dit
geldt zowel indien de letter “C” als indien de
letter “F” op het display begint te knipperen.
Het lteralarm verschijnt wanneer de motor
uitgeschakeld is en is ongeveer 30 seconden
zichtbaar. Het lteralarm wordt teruggesteld
(reset van de urenteller) door de toetsen P1
en P4 tegelijkertijd gedurende 2 seconden
ingedrukt te houden terwijl het alarm zichtba-
ar is.
5. VERLICHTING
Als de verlichting kapot is, hoort deze vervan-
gen te worden door de fabrikant, een erkende
technische dienst of een persoon met ver-
gelijkbare kwali caties, teneinde gevaarlijke
situaties te voorkomen.

Other manuals for Electrolux LFG525W

Related product manuals