EasyManua.ls Logo

Electrolux SB315N - Bedienfeld

Electrolux SB315N
Print Icon
To Next Page IconTo Next Page
To Next Page IconTo Next Page
To Previous Page IconTo Previous Page
To Previous Page IconTo Previous Page
Loading...
Die in diesem Gerät verwendete
Lampe ist nur für Haushaltsgeräte
geeignet. Benutzen Sie diese nicht für
die Raumbeleuchtung.
2.5 Reinigung und Pflege
WARNUNG!
Verletzungsgefahr sowie
Risiko von Schäden am
Gerät.
Schalten Sie das Gerät immer aus
und ziehen Sie den Netzstecker aus
der Steckdose, bevor
Reinigungsarbeiten durchgeführt
werden.
Der Kältekreis des Gerätes enthält
Kohlenwasserstoffe. Das Gerät muss
von einer qualifizierten Fachkraft
gewartet und nachgefüllt werden.
Prüfen Sie regelmäßig den
Wasserabfluss des Geräts und
reinigen Sie ihn gegebenenfalls. Bei
verstopftem Wasserabfluss sammelt
sich das Abtauwasser am Boden des
Geräts an.
2.6 Service
Wenden Sie sich zur Reparatur des
Geräts an einen autorisierten
Kundendienst.
Verwenden Sie ausschließlich
Originalersatzteile.
2.7 Entsorgung
WARNUNG!
Verletzungs- und
Erstickungsgefahr.
Trennen Sie das Gerät von der
Stromversorgung.
Schneiden Sie das Netzkabel ab, und
entsorgen Sie es.
Entfernen Sie die Tür, um zu
verhindern, dass sich Kinder oder
Haustiere in dem Gerät einschließen.
Der Kältekreislauf und die
Isolierungsmaterialien dieses Gerätes
sind ozonfreundlich.
Die Isolierung enthält entzündliches
Gas. Für Informationen zur korrekten
Entsorgung des Gerätes wenden Sie
sich an Ihre kommunale Behörde.
Achten Sie darauf, dass die
Kühleinheit in der Nähe des
Wärmetauschers nicht beschädigt
wird.
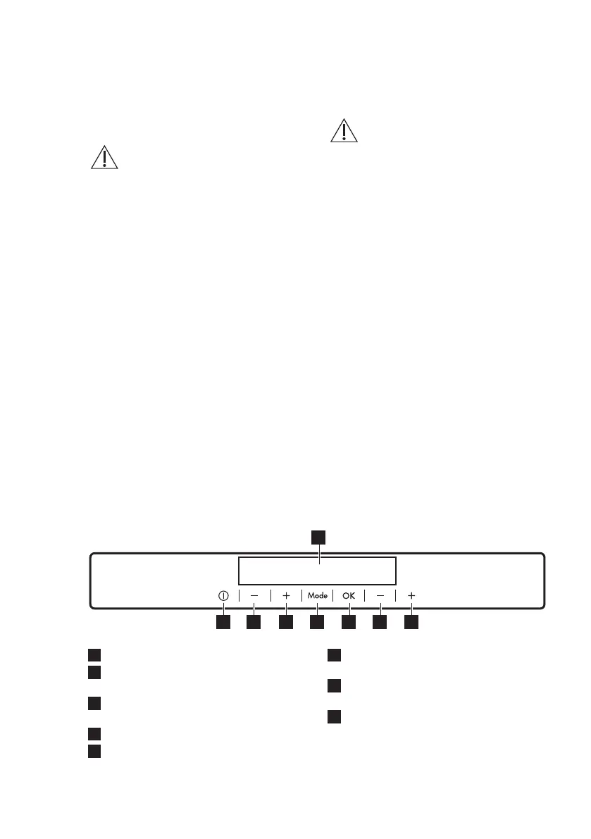
3. BEDIENFELD
5
1
678 4 3 2
1
Display
2
Taste zur Erhöhung der Temperatur
des oberen Fachs
3
Taste zur Verringerung der
Temperatur des oberen Fachs
4
Taste OK
5
Taste Mode
6
Taste zur Erhöhung der Temperatur
des unteren Fachs
7
Taste zur Verringerung der
Temperatur des unteren Fachs
8
Taste ON/OFF
www.electrolux.com6

Related product manuals