EasyManua.ls Logo

Electrolux ST246F - Fonctionnement

Electrolux ST246F
Print Icon
To Next Page IconTo Next Page
To Next Page IconTo Next Page
To Previous Page IconTo Previous Page
To Previous Page IconTo Previous Page
Loading...
le cache de l’orifice de la vis (B) sur
le côté supérieur droit de l’appareil
où se trouvent les orifices des vis.
A B
Installez les équipements de la porte.
Attendez au moins 4 heures avant de
brancher l'appareil sur le secteur.
4. FONCTIONNEMENT
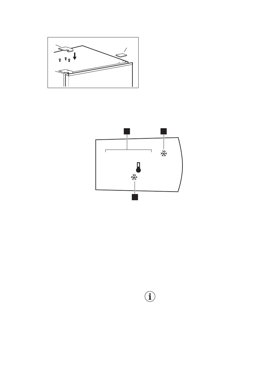
4.1 Bandeau de commande
3sec
468 2
°C
1 2
3
1 2
3
1. Indicateur de température
2. Super Freeze indicateur
3. Touche Commande
4.2 Activation
Insérez la fiche dans la prise murale.
4.3 Désactivation
Pour éteindre l’appareil, retirez la fiche
de la prise électrique.
4.4 Réglage de la température
Pour régler la température, appuyez
plusieurs fois sur la touche de
commande jusqu’à obtenir la
température souhaitée.
La température recommandée est de :
+4 °C pour le réfrigérateur
La plage de température peut varier
entre 2 °C et 8 °C pour le réfrigérateur.
Choisissez le réglage en tenant compte
du fait que la température à l’intérieur de
l’appareil dépend de plusieurs facteurs :
la température ambiante ;
la fréquence d’ouverture de la porte ;
la quantité de denrées entreposées ;
l’emplacement de l’appareil.
Les indicateurs de température affichent
la température réglée
La température réglée sera
atteinte dans les 24 heures.
Après une coupure de
courant, il est mémorisé.
4.5 Fonction Super congélation
La fonction Super Freeze sert à effectuer
une pré-congélation et une congélation
www.electrolux.com34

Other manuals for Electrolux ST246F

Related product manuals