EasyManua.ls Logo

Electrolux TG096 - Control Panel

Electrolux TG096
36 pages
Print Icon
To Next Page IconTo Next Page
To Next Page IconTo Next Page
To Previous Page IconTo Previous Page
To Previous Page IconTo Previous Page
Loading...
It must be possible to
disconnect the appliance
from the mains power
supply. The plug must
therefore be easily
accessible after installation.
3.3 Electrical connection
Before plugging in, ensure that the
voltage and frequency shown on the
rating plate correspond to your
domestic power supply.
The appliance must be earthed. The
power supply cable plug is provided
with a contact for this purpose. If the
domestic power supply socket is not
earthed, connect the appliance to a
separate earth in compliance with
current regulations, consulting a
qualified electrician.
The manufacturer declines all
responsibility if the above safety
precautions are not observed.
This appliance complies with the
E.E.C. Directives.
3.4 Levelling
When placing the appliance make sure
that it stands level. This can be achieved
by two adjustable feet at the bottom in
front.
3.5 Door reversibility
Please refer to the separate document
with instructions on installation and door
reversal.
CAUTION!
At every stage of reversing
the door protect the floor
from scratching with a
durable material.
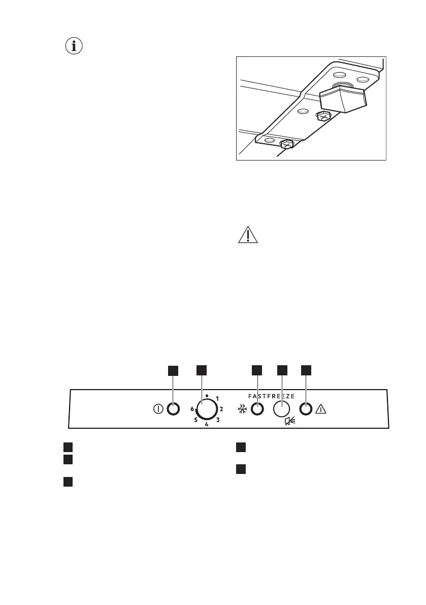
4. CONTROL PANEL
1
2 3 4 5
1
Power indicator light
2
Temperature regulator and On/Off
switch
3
FastFreeze light
4
FastFreeze switch and alarm reset
switch
5
Alarm light
4.1 Switching on
1. Insert the plug into the wall socket.
2. Turn the Temperature regulator
clockwise to a medium setting.
If the temperature inside the appliance is
too high, the Alarm light will blink and the
acoustic alarm will turn on.
3. Push the FastFreeze switch and the
acoustic alarm will turn off. The
Alarm light will blink until the internal
temperature has reached a level
www.electrolux.com8

Related product manuals