EasyManua.ls Logo

Electrolux TWL3E301 - Care and Cleaning

Electrolux TWL3E301
56 pages
Print Icon
To Next Page IconTo Next Page
To Next Page IconTo Next Page
To Previous Page IconTo Previous Page
To Previous Page IconTo Previous Page
Loading...
Do not use fabric softener to wash
and then dry. In the tumble dryer
laundry becomes soft automatically.
Use distilled water like that used for
steam ironing. If it is necessary, clean
the distilled water before (e.g. with a
coffee filter) to remove any particles.
Always keep the airflow slots at the
bottom of the appliance clear.
Make sure there is good airflow where
the appliance is to be installed.
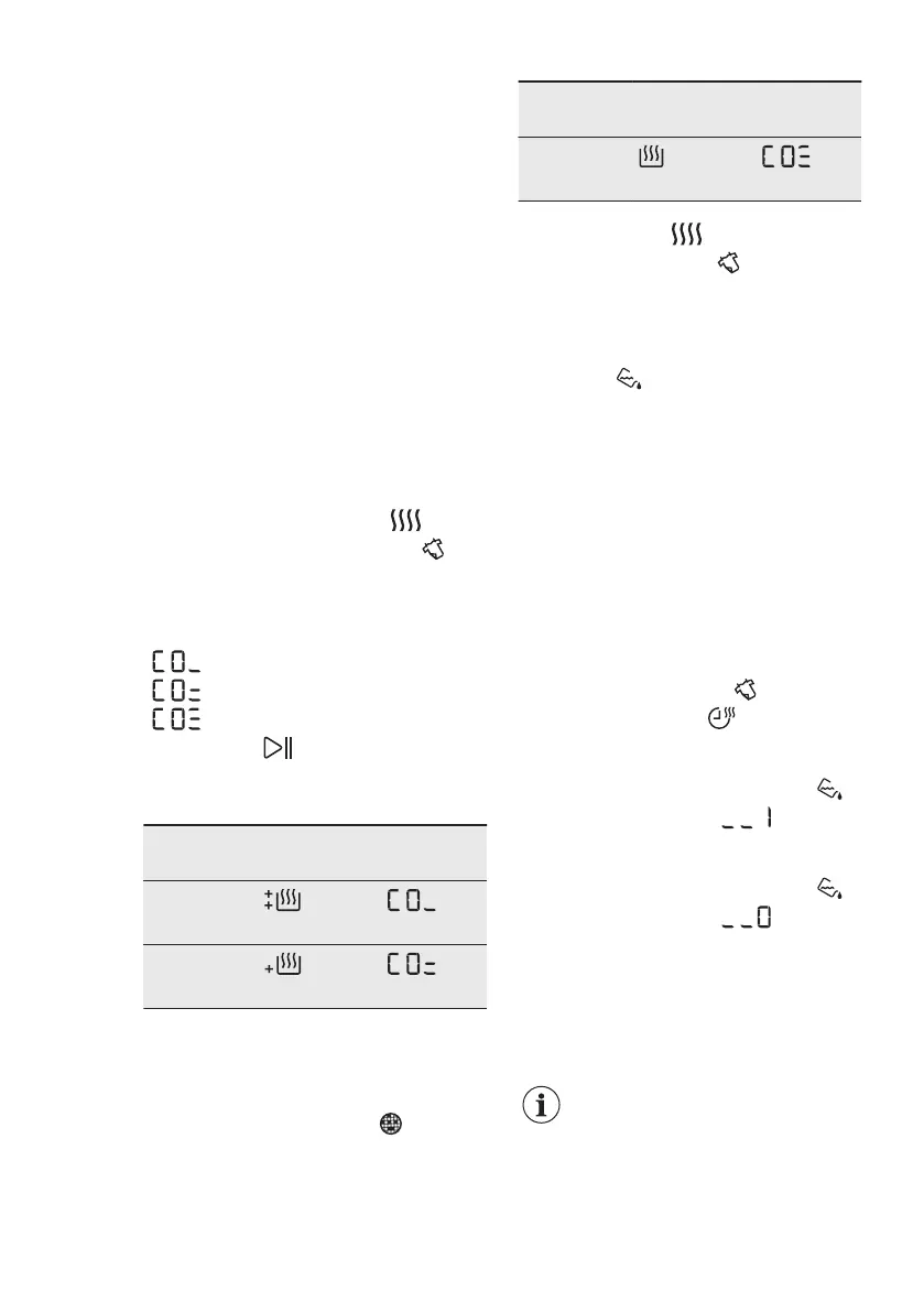
9.2 Adjustment of default
dryness level
To change the default dryness level:
1. Turn the appliance on.
2. Wait approximately 8 seconds.
3. Select 1 of the available
programmes.
4. Touch and hold down the
Dryness (Trockengrad) and
Refresh (Auffrischen) buttons at the
same time.
One of the symbols appears on the
display:
- Maximum dryness
- Extra dryness
- Standard dryness
5. Touch the Start/Pause button
repeatedly until you reach the
desired dryness level.
Dryness
level
Display symbol
Maximum
dryness
Extra dry‐
ness
Dryness
level
Display symbol
Standard
dryness
6. To memorise the setting touch and
hold down the
Dryness
(Trockengrad) and
Refresh
(Auffrischen) buttons at the same
time for approximately 2 seconds.
9.3 Deactivating the tank
indicator
The water container indicator is activated
by default. It illuminates at the end of the
drying cycle or during the cycle if the
water reservoir is full. If the draining kit is
installed the water container is drained
automatically and the indicator can be
deactivated.
To deactivate the indicator:
1. Turn the appliance on.
2. Wait approximately 8 seconds.
3. Select 1 of the available
programmes.
4. Touch and hold down
Refresh
(Auffrischen) and
Time Dry
(Zeitwahl) buttons at the same time.
One of 2 configurations is possible:
the tank (Behälter) indicator: is
on if the symbol appears
- the water container indicator is
permanently activated
the tank (Behälter) indicator:
is
off if the symbol appears
- the water container indicator is
permanently deactivated
10. CARE AND CLEANING
10.1 Cleaning the filter
At the end of each cycle the
filter
(Sieb)
symbol comes on the display and
you must clean the filter.
The filter collects the lint
during the drying cycle.
ENGLISH 17

Related product manuals