EasyManua.ls Logo

ELEKTROMET EJK mini - Page 4

ELEKTROMET EJK mini
16 pages
Print Icon
To Next Page IconTo Next Page
To Next Page IconTo Next Page
To Previous Page IconTo Previous Page
To Previous Page IconTo Previous Page
Loading...
25.07.2014 ZUG ELEKTROMET
4
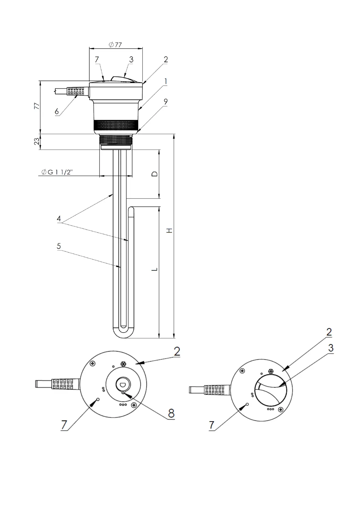
1 - casing body
2 - cover
3 - temperature controller knob
4 - heating element
5 - temperature sensor cover
6 - power cord (1,5 m)
for 1500W 3x1.0mm² cord
for 2000W and 3000W 3x1.5mm² cord
7 - signal lamp
8 - plug for STB connection
9 - gasket
Fig. 1. Heater structure