EasyManua.ls Logo

elem Garden Technic TDE3213CBE21 - Electrical Diagram

elem Garden Technic TDE3213CBE21
Print Icon
To Next Page IconTo Next Page
To Next Page IconTo Next Page
To Previous Page IconTo Previous Page
To Previous Page IconTo Previous Page
Loading...
56
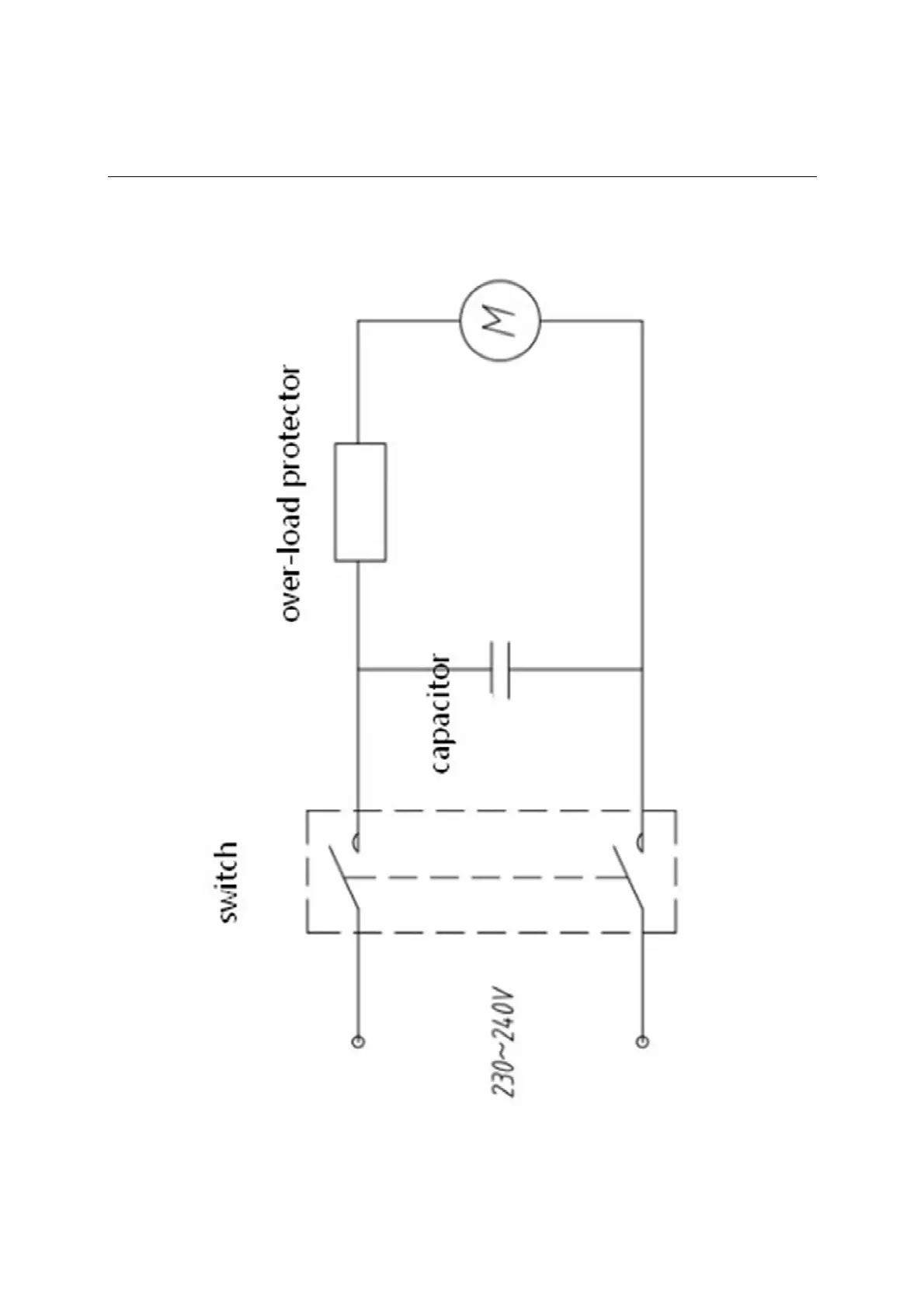
SCHÉMA ÉLECTRIQUE - ELEKTRISCH SCHEMA
ELECTRICAL DIAGRAM - SCHEMA ELETTRICO