EasyManua.ls Logo

Elenberg SPT-7070 - Page 27

Elenberg SPT-7070
Print Icon
To Next Page IconTo Next Page
To Next Page IconTo Next Page
To Previous Page IconTo Previous Page
To Previous Page IconTo Previous Page
Loading...


            


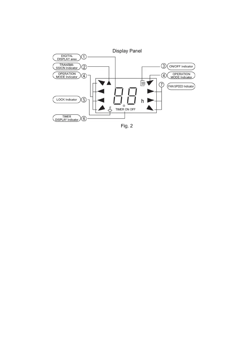
indiCAtoRs on displAy pAnel
 


 

 

 

 

 




 






instAll/ReplACe bAtteRies

 
          

 

 


Related product manuals