EasyManua.ls Logo

Elmo 16-CL - Page 72

Elmo 16-CL
76 pages
Print Icon
To Next Page IconTo Next Page
To Next Page IconTo Next Page
To Previous Page IconTo Previous Page
To Previous Page IconTo Previous Page
Loading...
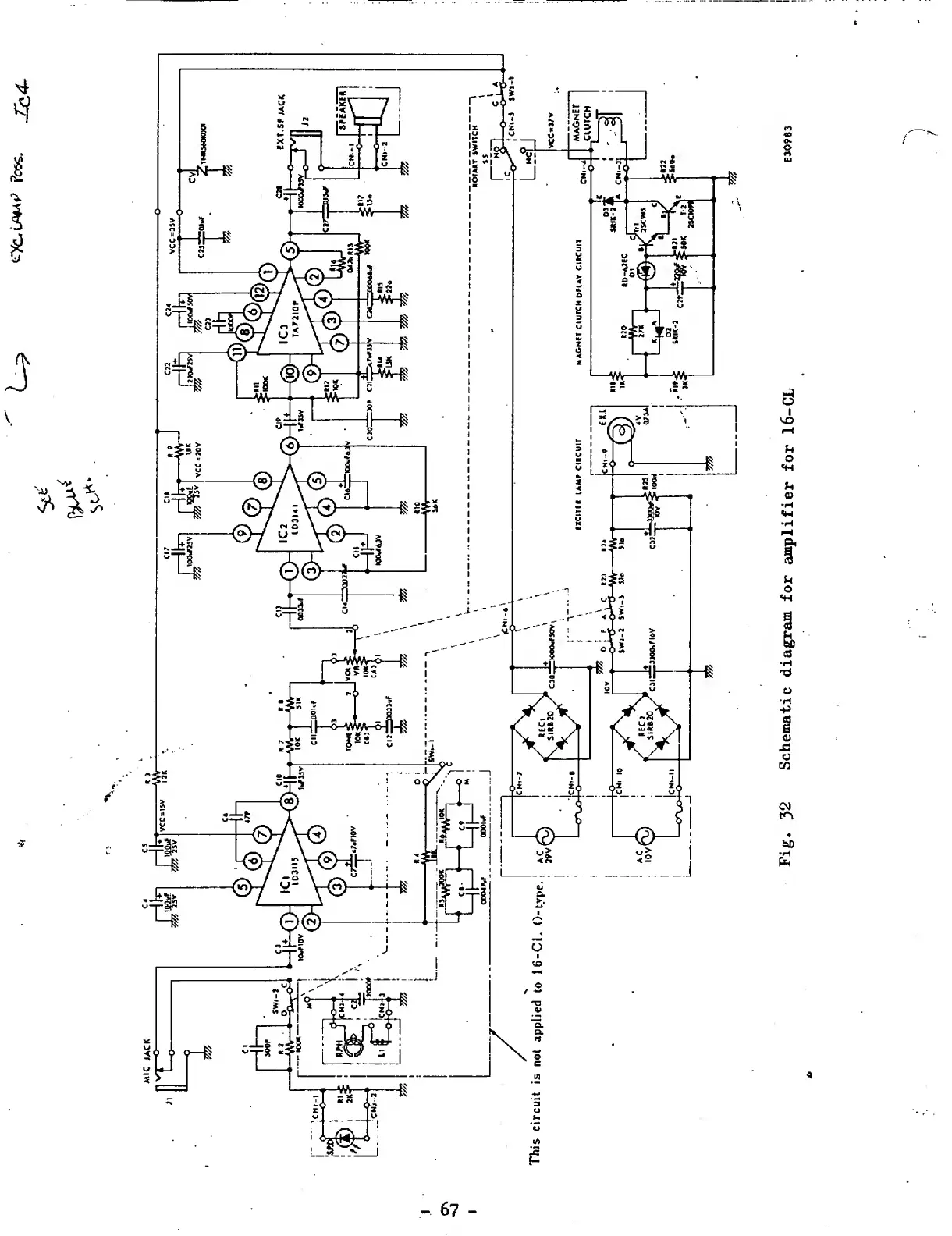
Fig.
32
Schematic
diagram
for
amplifier
for
16-CL

Related product manuals