EasyManua.ls Logo

Elmo 16-CL - Page 75

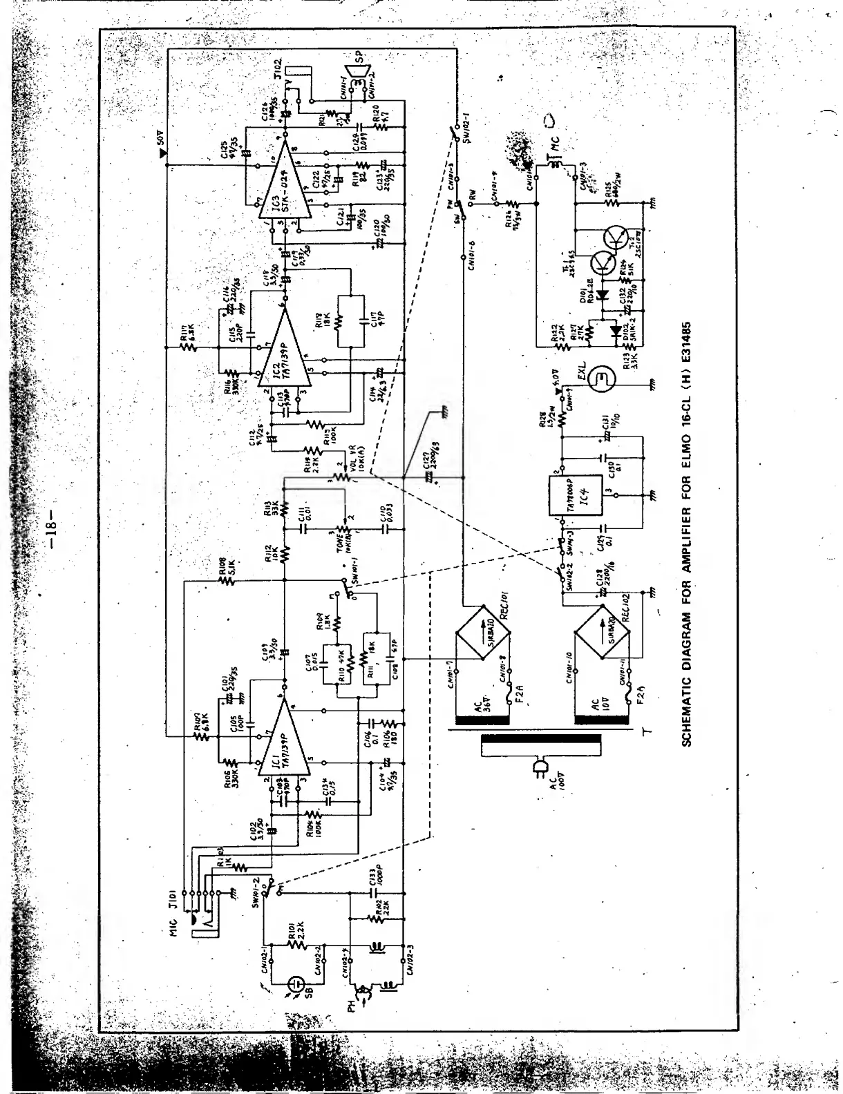
Elmo 16-CL
76 pages
Print Icon
To Next Page IconTo Next Page
To Next Page IconTo Next Page
To Previous Page IconTo Previous Page
To Previous Page IconTo Previous Page
Loading...

Related product manuals