EasyManua.ls Logo

Elvox 7529 - Page 15

Elvox 7529
Print Icon
To Next Page IconTo Next Page
To Next Page IconTo Next Page
To Previous Page IconTo Previous Page
To Previous Page IconTo Previous Page
Loading...
15
DE
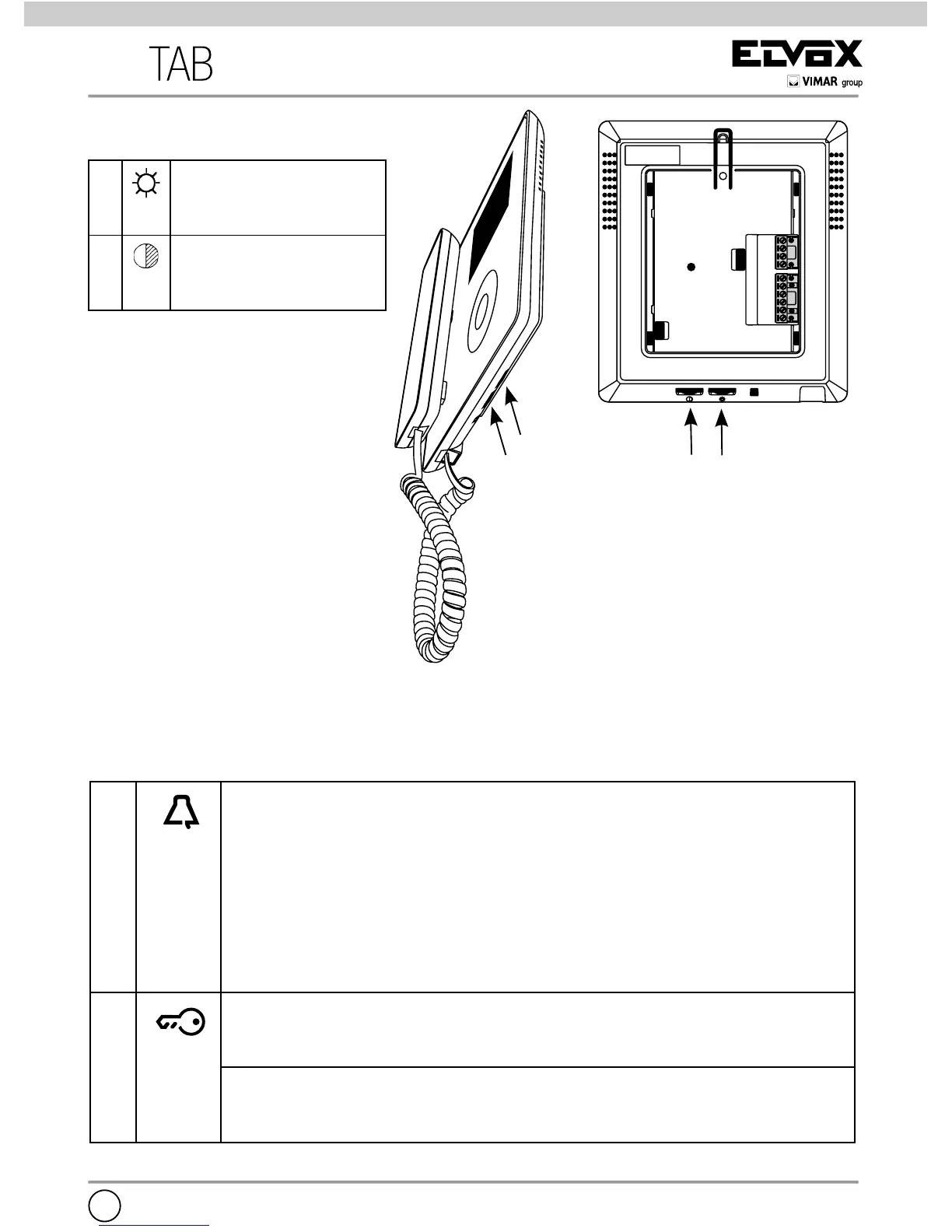
Anzeigen:
B Im Normalbetrieb:
- Blinkendes Licht: Der Monitor empfängt gerade einen Anruf (vom
externen Klingeltableau oder von der Internsprechstelle).
- Dauerlicht: Rufton abgeschaltet (Funktion Teilnehmer abwesend).
- Dauerlicht mit Blinksignal alle 10 s: Wenn der Gong abgeschaltet
ist und vom Klingeltableau angerufen wurde, blinkt die LED so oft,
wie Anrufe vom Klingeltableau eingegangen sind (es bleiben bis zu 4
Anrufe gespeichert). Sobald die Lautstärke des Gongs wiederherge-
stellt wird, erfolgt ein Reset der gespeicherten Blinksignale.
C
Im Normalbetrieb:
- Dauerlicht: Tür offen, wenn mindestens in einem Klingeltableau der
Sensor installiert ist.
Im Einstellmodus:
- Blinkendes Licht: Am Haustelefon wird gerade die Gonglautstärke
eingestellt oder die Melodie gewählt.
Einstellungen:
I H
I
H
H Helligkeitsregelung:
Dient zum Einstellen
der Bildschirmhelligkeit.
I
Kontrastregelung:
Dient zum Einstellen des
Bildschirmkontrastes.

Related product manuals