EasyManua.ls Logo

Emos E5111 - Page 85

Emos E5111
96 pages
Print Icon
To Next Page IconTo Next Page
To Next Page IconTo Next Page
To Previous Page IconTo Previous Page
To Previous Page IconTo Previous Page
Loading...
85
Hallituse/kastepunkti/temperatuuri märkimine
1. Vajutage nuppu DOWN (ALLA).
Ekraanile ilmub siseruumi hallituse (MOLD) riski näidik:
0 – risk puudub
LOW – madal risk
MED – keskmine risk
HI – kõrge risk
2. Vajutage 2× nuppu DOWN (ALLA).
Ekraanil kuvatakse välisolude hallitusohu (MOLD) indikaator:
0 – risk puudub
LOW – madal risk
MED – keskmine risk
HI – kõrge risk
3. Vajutage 3× nuppu DOWN (ALLA).
Ekraanil kuvatakse välisolude kastepunkti (DEW) väärtus.
Kastepunkt on temperatuur, mille juures õhk küllastub täielikult veeauruga, mis seejärel hakkab
kondenseeruma veepiiskade kujul.
4. Vajutage 4× nuppu DOWN (ALLA).
Ekraanile ilmub välisolude temperatuuri (HEAT) indeks.
Väärtus kuvatakse siis, kui välistemperatuur ületab 28°C.
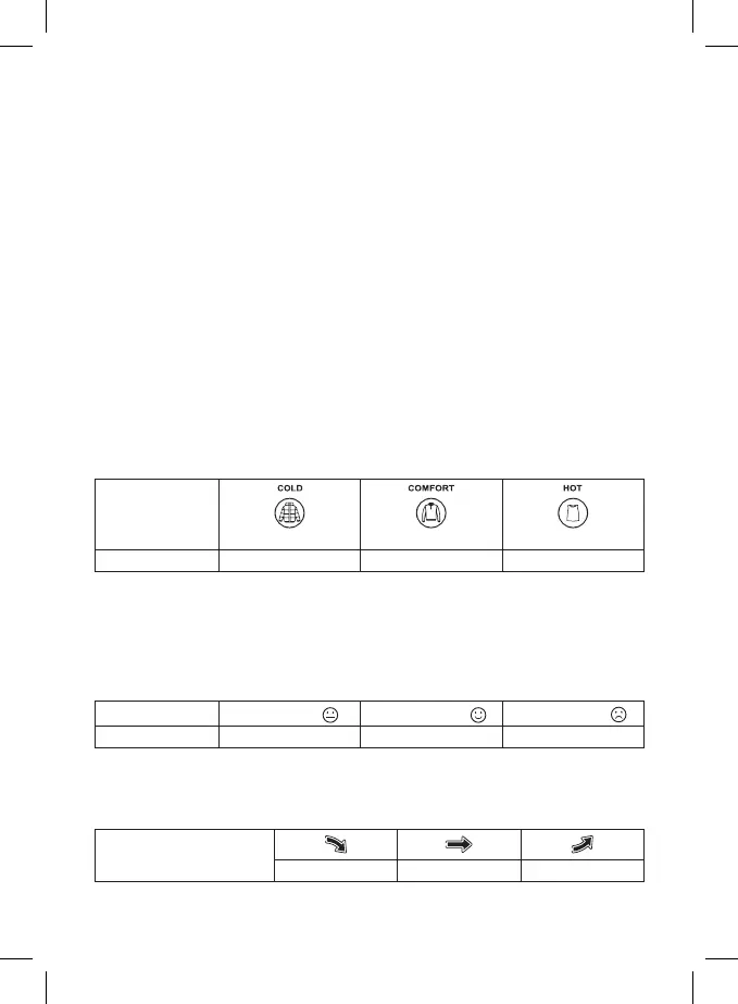
Ülerõivaste indeks
Ikoon soovitab riideid vastavalt välistemperatuurile vahetada.
See kuvatakse väljal 6.
Kuvatakse iga ühendatud anduri puhul eraldi.
külm
mugavus
kuum
Välistemperatuur <18 °C 18°C kuni 28°C >28 °C
Soojusindeks – naerunägu
Soojusindeks ühendab sisetemperatuuri ja suhtelise õhuniiskuse, et määrata näiline temperatuur –
tuntud ka kui tajutud temperatuur.
Keha jahutab end tavaliselt higistades. Higi on sisuliselt vesi, mis aurustamisel juhib kehast soojust
eemale. Kui suhteline õhuniiskus on kõrge, on vee aurustumiskiirus väike ja soojus hajub kehast
aeglasemalt.
Selle tulemusena säilitab keha rohkem soojust kui kuivas keskkonnas.
Kuiv keskkond Mugav keskkond
Niiske keskkond
niiskus <40 % 40–70 % >70 %
Temperatuur/niiskuse/rõhu (ilma) suundumus
Välitemperatuuri ja niiskuse suundumuse ikoon on näidatud väljadel 8 ja 17.
Sisetemperatuuri ja niiskuse suundumuse ikoon on näidatud väljadel 24 ja 22.
Rõhu trendi ikoon on näidatud väljal nr 7.
Temperatuuri, niiskuse ja
rõhu suundumuse näidik
Langev Püsiv Tõusev

Related product manuals