EasyManua.ls Logo

Emos P5614 - Page 34

Emos P5614
84 pages
Print Icon
To Next Page IconTo Next Page
To Next Page IconTo Next Page
To Previous Page IconTo Previous Page
To Previous Page IconTo Previous Page
Loading...
34
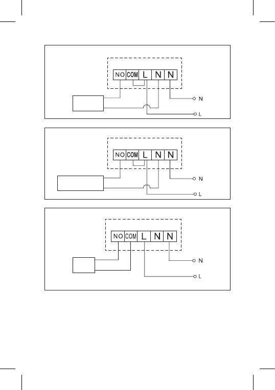
Shema priključitve stikalne enote
Shema priključitve črpalke/motoriziranega ventila
Črpalka/
ventil
Shema priključitve talnega ogrevanja
Priključena
naprava
Vnaprej inštalirana žična spona ne bo priključena.
Shema priključitve kotla
Kotel

Related product manuals