EasyManua.ls Logo

Empire Heating Systems 3588-3 - Page 5

Empire Heating Systems 3588-3
26 pages
Print Icon
To Next Page IconTo Next Page
To Next Page IconTo Next Page
To Previous Page IconTo Previous Page
To Previous Page IconTo Previous Page
Loading...
12417-12416-2-0403
Page 5
Here are some suggestions.
1. If you have a choice, select a location close to the chimney.
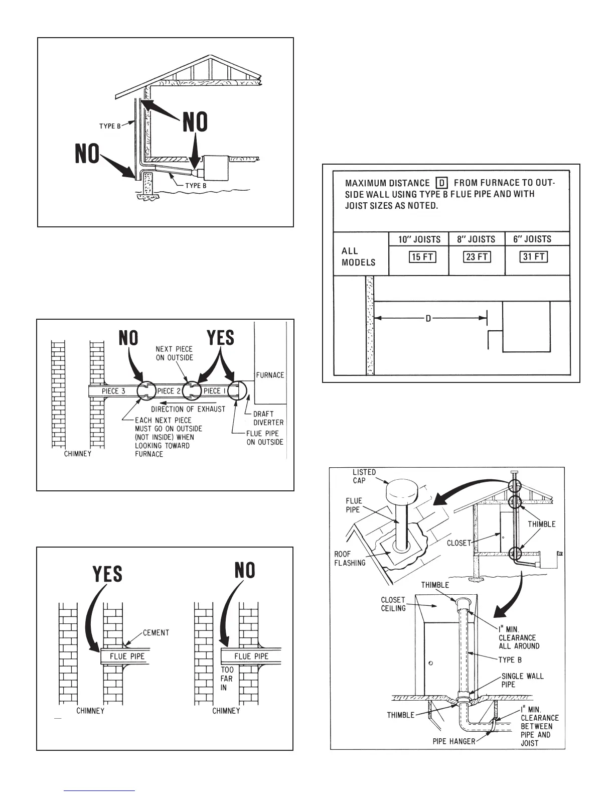
2. If there is no chimney, you will have to run a flue pipe from
the furnace, up to and above the house roof (see 1). Select
a location permitting the most direct run. Try going up to
the roof through a closet. Remember that the flue pipe must
slope upwards at least 1/4 of an inch for each foot and you
may find floor joints in our path, so it is important to plan the
run carefully (see 8).
8
3. If you have decided to go up to the roof through a closet (see
9), remember that you MUST keep a minimum distance of 1
5
10. When connecting the flue pipe to the chimney, the pipe MUST
go fully in and be cemented (see 7). The flue pipe MUST
NOT go too far into the chimney. It should be cut off as it
will interfere with normal venting (see 7).
11. The flue pipe MUST be sealed. No open "Tees" (see 5).
6
12. The flue pipe's vertical rise MUST always be at least twice
the length of the horizontal run.
7
9

Related product manuals