EasyManua.ls Logo

Emtek Keypad Deadbolt Locksets - How to Install; Install Latch; Remove Screws from Inside Trim Plate

Emtek Keypad Deadbolt Locksets
12 pages
Print Icon
To Next Page IconTo Next Page
To Next Page IconTo Next Page
To Previous Page IconTo Previous Page
To Previous Page IconTo Previous Page
Loading...
4
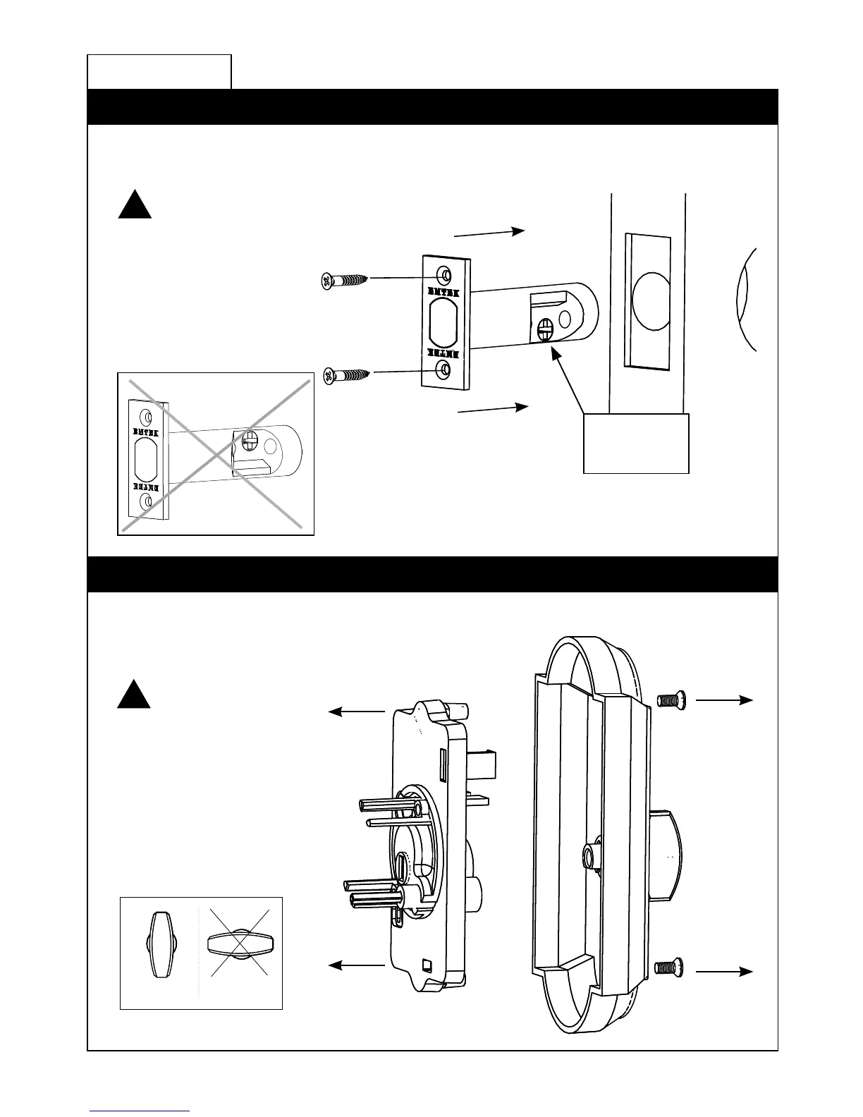
Fasten Latch using two #8 x ¾” Wood Screws (item #6).
2. Remove Screws from Inside Trim Plate
1. Install Latch
How to Install
!
REMOVE INSIDE
CHASSIS FROM
TRIM PLATE BEFORE
INSTALLING THE
OUTSIDE TRIM.
THUMBTURN MUST
BE IN UNLOCKED
POSITION.
Unlocked Locked
THE LATCH ASSEMBLY
MUST BE ORIENTED
AS SHOWN AND THE
BOLT MUST BE IN THE
RETRACTED POSITION
FOR INSTALLATION.
!
Crosshairs
at bottom.
Use a Phillips head screwdriver to remove screws (item #4c) shown below and detach
Inside Trim Plate from the Inside Chassis.
screws
(item #4c)

Related product manuals